LEMON Manuals: Even more car manuals for everyone: 1960-2025
Home >> Infiniti >> 2015 >> Q60 Base, 2D Convertible >> Repair and Diagnosis (Single Page) >> Brakes >> Traction Control >> Brake Control System (VDC/TCS/Abs) (Convertible) >> System Description >> TCS >> System Diagram
April 5, 2026: LEMON Manuals is launched! Read the announcement.

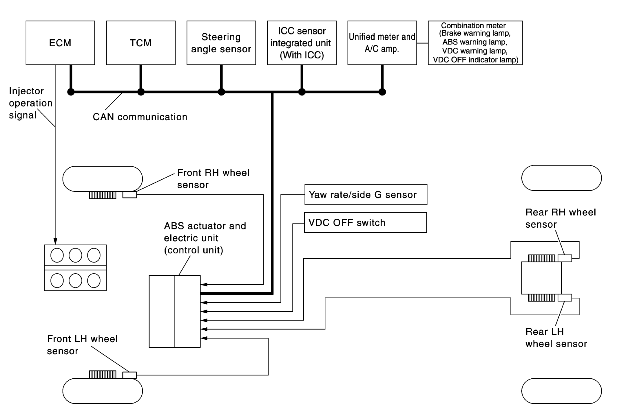
System Diagram

Fig 1: VDC System Diagram
G07157093Courtesy of NISSAN NORTH AMERICA, INC.