LEMON Manuals: Even more car manuals for everyone: 1960-2025
Home >> Infiniti >> 2015 >> Q70 Hybrid >> Repair and Diagnosis >> Steering >> Steering Control Systems >> Steering Control System (Hybrid) >> System Description >> System >> Hybrid EPS System >> Circuit Diagram
April 5, 2026: LEMON Manuals is launched! Read the announcement.

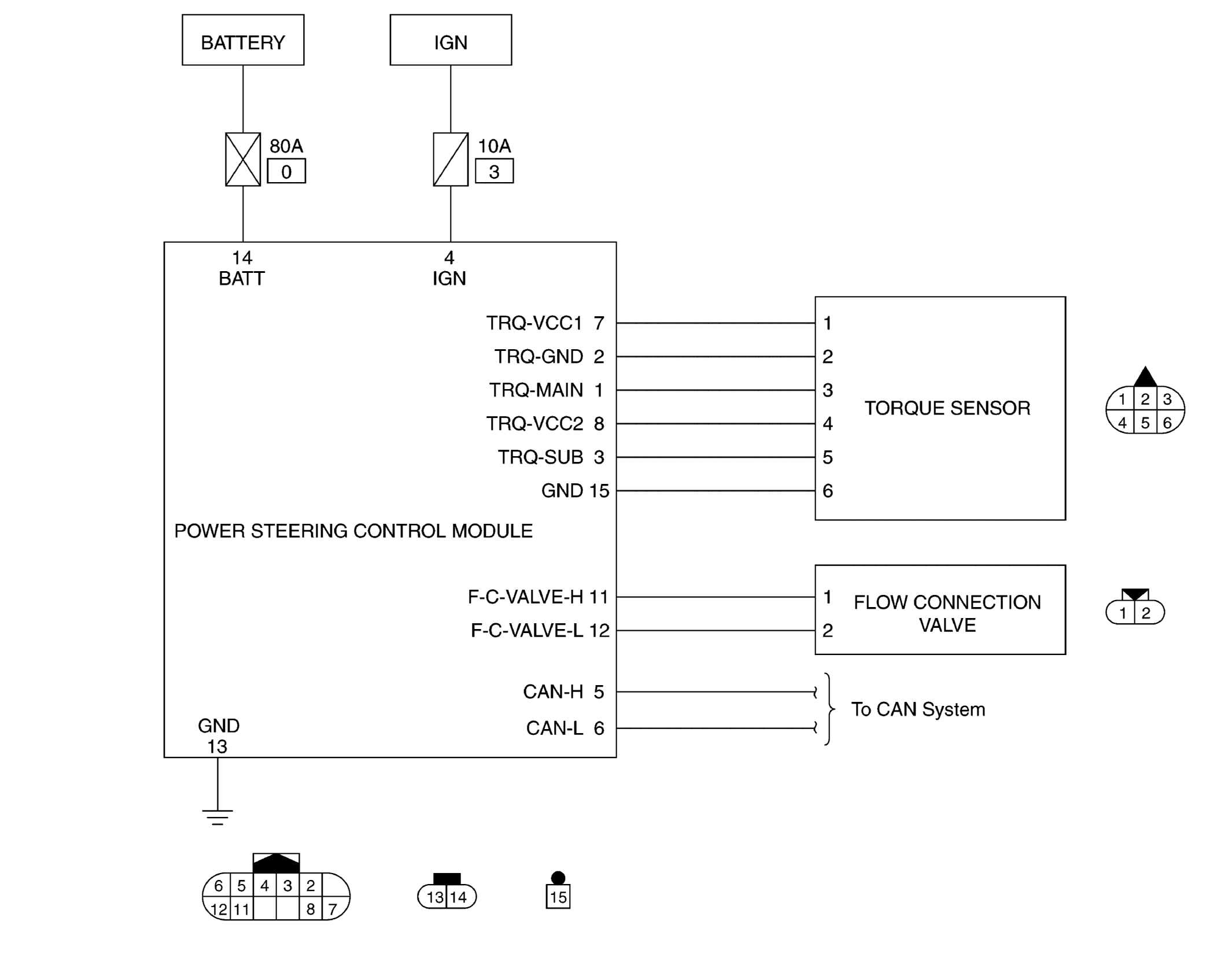
Circuit Diagram

Fig 1: Hybrid EPS System -- Circuit Diagram
G09418319Courtesy of NISSAN NORTH AMERICA, INC.