LEMON Manuals: Even more car manuals for everyone: 1960-2025
Home >> Infiniti >> 2015 >> QX50 Base, AWD >> Repair and Diagnosis (Single Page) >> Transmission >> Transfer Case >> System Description >> Structure And Operation >> Operation Description >> Operation Principle >> Electric Controlled Coupling
April 5, 2026: LEMON Manuals is launched! Read the announcement.

Electric Controlled Coupling

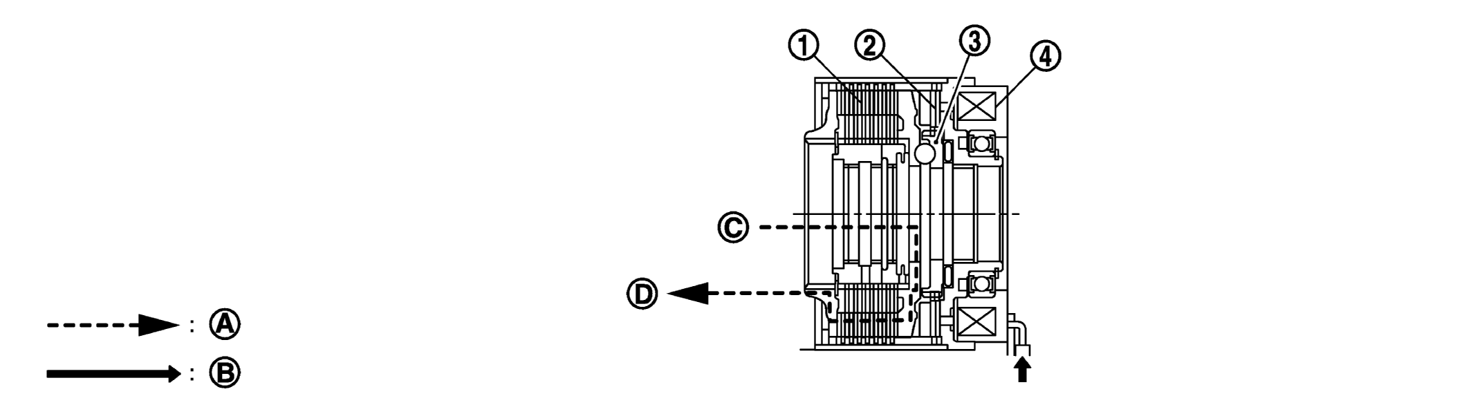
Fig 1: Electric Controlled Coupling Operation Principle
GNSJPDIE0214ZZ-214Courtesy of NISSAN NORTH AMERICA, INC.
1. Main clutch 2. Control clutch 3. Cam
4. Electromagnet        
A. Torque flow B. Current commanded from AWD control unit C. From transmission
D. To front propeller shaft        
  1. AWD control unit supplies command current to electric controlled coupling (AWD solenoid).
  2. Control clutch is engaged by electromagnet and torque is detected in control clutch.
  3. The cam operates in response to control clutch torque and applies pressure to main clutch.
  4. Main clutch transmits torque to front wheels according to pressing power.
    • Transmission torque to front wheels is determined according to command current.
      Fig 2: Current-Torque Graph
      G04076036Courtesy of NISSAN NORTH AMERICA, INC.