LEMON Manuals: Even more car manuals for everyone: 1960-2025
Home >> Infiniti >> 2015 >> QX60 Base, AWD >> Repair and Diagnosis (Single Page) >> Accessories & Equipment >> Entertainment Systems >> Audio, Visual & Navigation System (Base Audio) (Except Hybrid) >> Removal And Installation >> Display Unit >> Exploded View With Torque Specifications
April 5, 2026: LEMON Manuals is launched! Read the announcement.

Exploded View With Torque Specifications

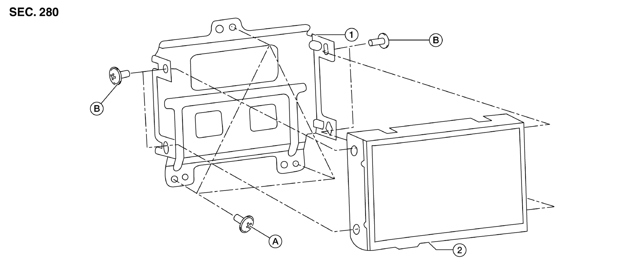
Fig 1: Exploded View Of Display Unit
GNSAWNIZ2552ZZ-552Courtesy of NISSAN NORTH AMERICA, INC.
1. Display unit bracket 2. Display unit A. Display unit bracket screws
B. Display unit screws