LEMON Manuals: Even more car manuals for everyone: 1960-2025
Home >> Infiniti >> 2015 >> QX60 Base, AWD >> Repair and Diagnosis (Single Page) >> Electrical >> Body Electrical >> Power Control System (IPDM E/R) (Except Hybrid) >> System Description >> System >> Relay Control System >> System Diagram
April 5, 2026: LEMON Manuals is launched! Read the announcement.

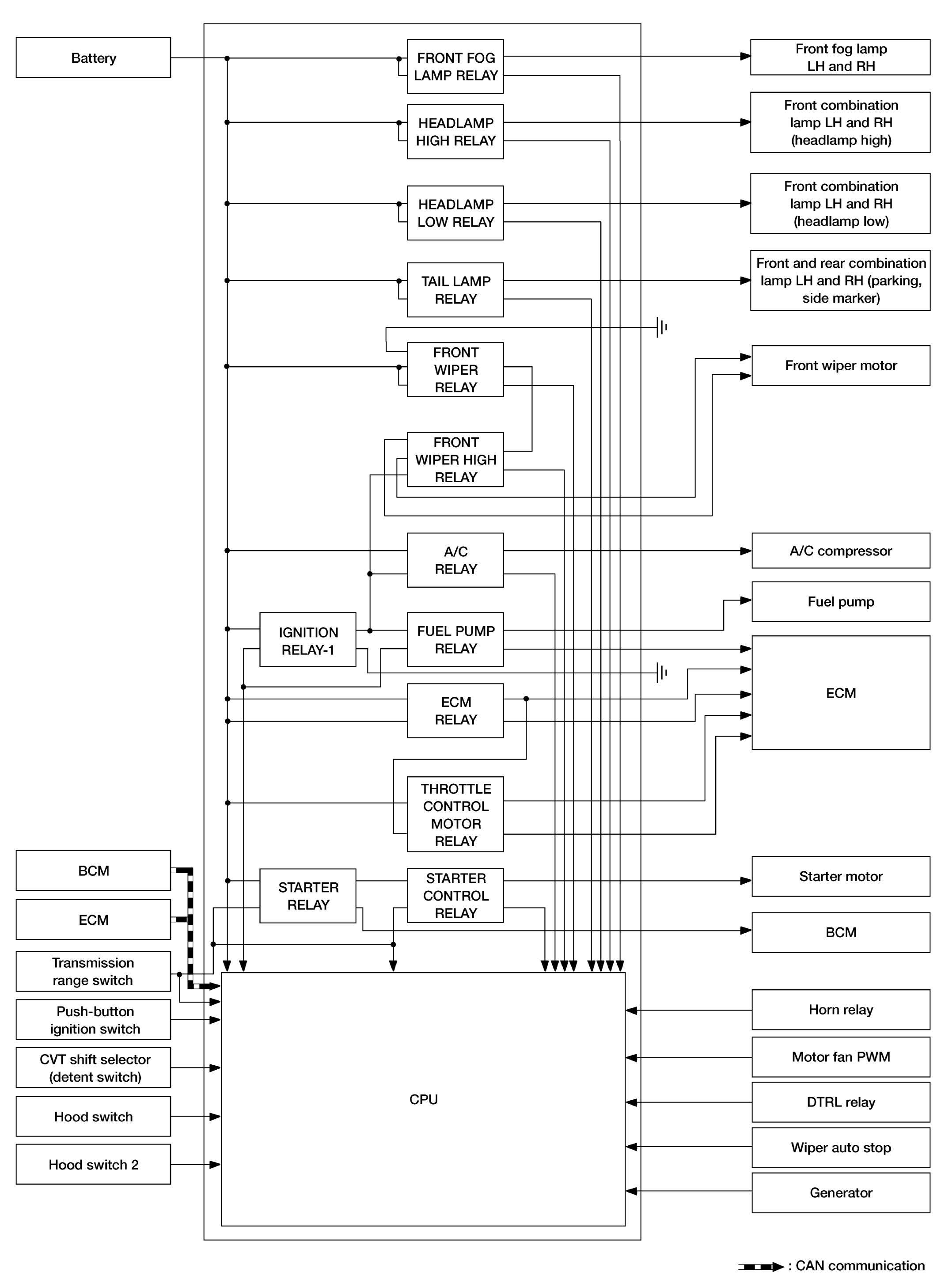
System Diagram

Fig 1: Relay Control System Diagram
GNSAWMIA1639GB-639Courtesy of NISSAN NORTH AMERICA, INC.