LEMON Manuals: Even more car manuals for everyone: 1960-2025
Home >> Infiniti >> 2015 >> QX60 Base, AWD >> Repair and Diagnosis >> Body & Frame >> Windows >> Power Window Control System (Except Hybrid) >> System Description >> System >> System Diagram
April 5, 2026: LEMON Manuals is launched! Read the announcement.

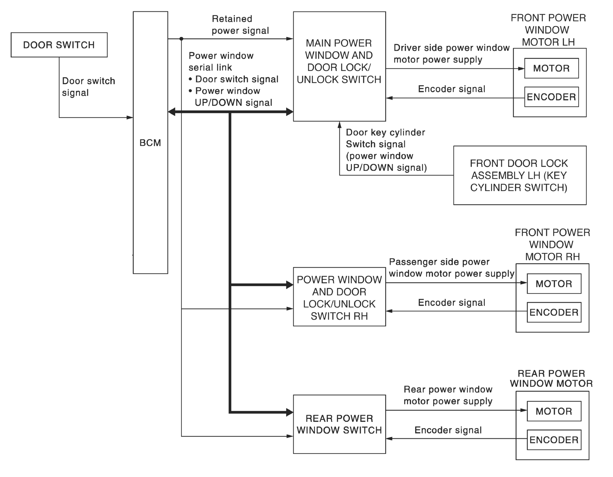
System Diagram

Fig 1: Power Window System Diagram
G08852104Courtesy of NISSAN NORTH AMERICA, INC.