Removal And Installation: Installation
Note the following, and install in the reverse order of removal.
- When installing the transfer to the transmission, install the mounting bolts following the standard below, tighten bolts to the specified torque.
Bolt symbol A B Insertion direction Transfer to transmission Transmission to transfer : Tightening the bolt with bracket - When installing transfer breather hose assembly, check that there are no bend and twist on the transfer breather hose.
- Align paint marks (A) to connect breather hoses (1), (2), and (3) with breather connectors (4) in numerical order.
Align arrow mark (B) of breather (5) with mark "C" of breather hose.
: Vehicle front - Install hose clip (1) to the position where the distance from the breather side hose end is dimension "D." Install hose clip (2), (3), and (4) to the positions where the distance from breather hose joint (C) is dimension "E," "F," and "G," respectively, as shown in the figure below.
Dimension D: 26.3 mm (1.035 in) E: 121.7 mm (4.791 in) F: 25.0 mm (0.984 in) G: 143.0 mm (5.630 in) CAUTION:
Transmission side hose end
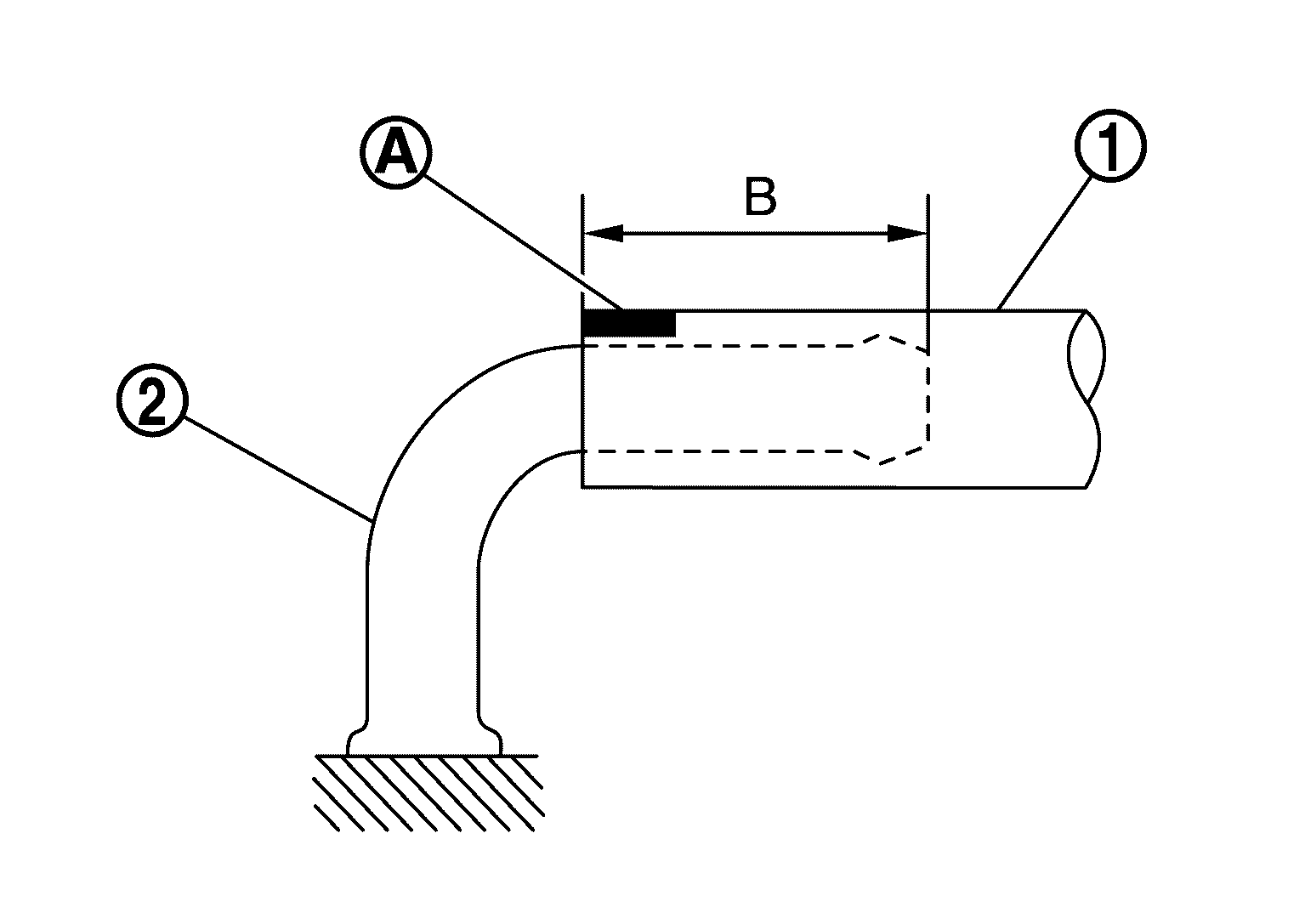
- Install the transfer breather hose (1) with the paint mark (A) faced backward and the arrow mark (B) faced rightward.
Transfer side hose end
- Install the transfer breather hose (1) with the paint mark (A) faced upward, and insert breather hose to breather tube (2) until dimension (B) shown as follows.
Courtesy of NISSAN NORTH AMERICA, INC.
B: 20 mm (0.79 in)
- Fix breather hose in (A) and (B) positions. For (A), face the paint mark upward.
- Align paint marks (A) to connect breather hoses (1), (2), and (3) with breather connectors (4) in numerical order.
- Check oil level and check for oil leakage after installation. Refer to INSPECTION .
- If replacing transfer assembly, perform writing unit parameter, learning of fluid viscosity and initial calibration. Refer to WORK PROCEDURE .