LEMON Manuals: Even more car manuals for everyone: 1960-2025
Home >> Infiniti >> 2015 >> QX80 Limited, Automatic T/Case Control >> Repair and Diagnosis (Single Page) >> Brakes >> Traction Control >> Brake Control System (With VDC) >> System Description >> System >> System Description >> System Diagram
April 5, 2026: LEMON Manuals is launched! Read the announcement.

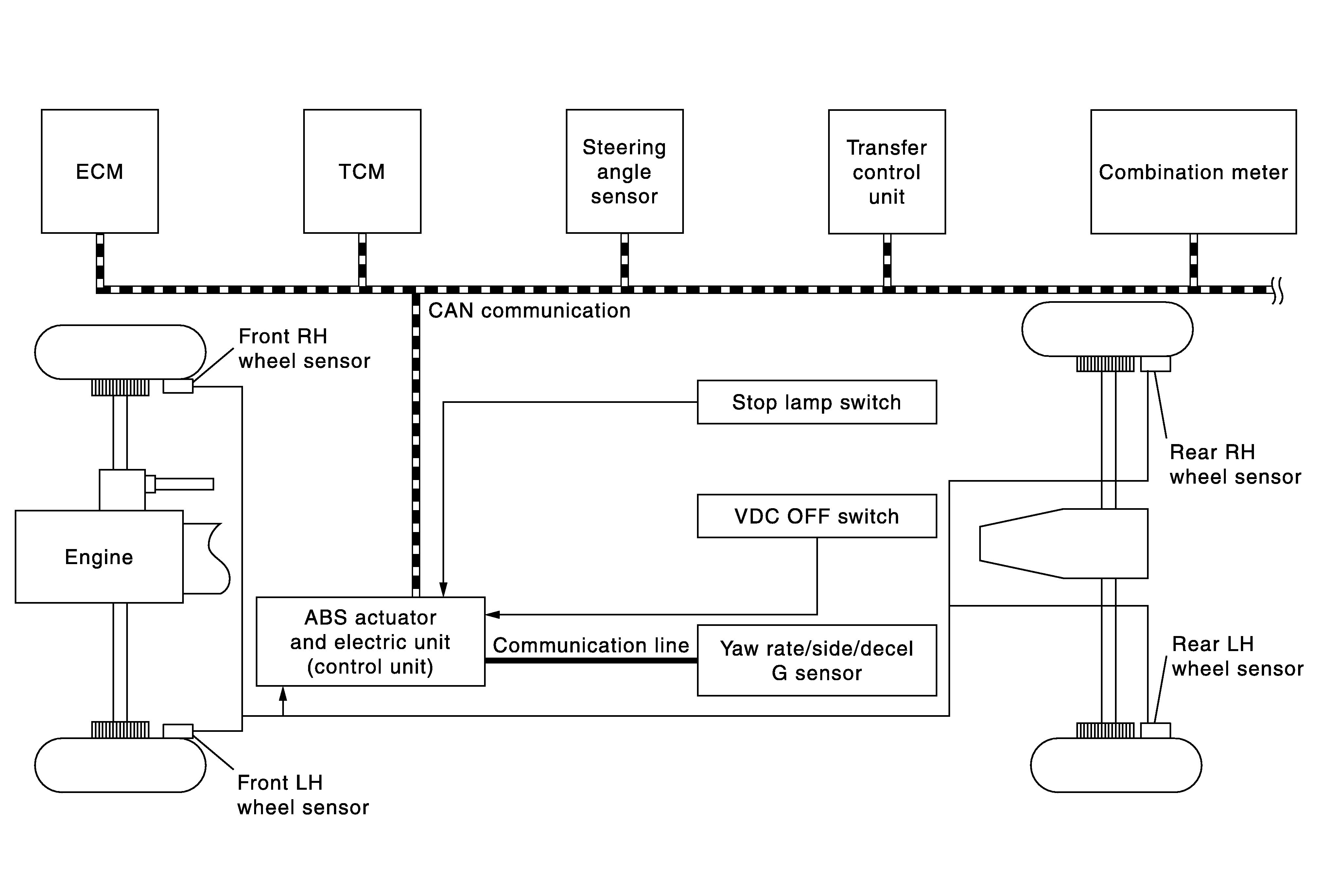
System Diagram

NOTE:

Transfer control unit is applied to models with 4WD system.

Fig 1: VDC Off Switch System Diagram
G07023455Courtesy of NISSAN NORTH AMERICA, INC.