LEMON Manuals: Even more car manuals for everyone: 1960-2025
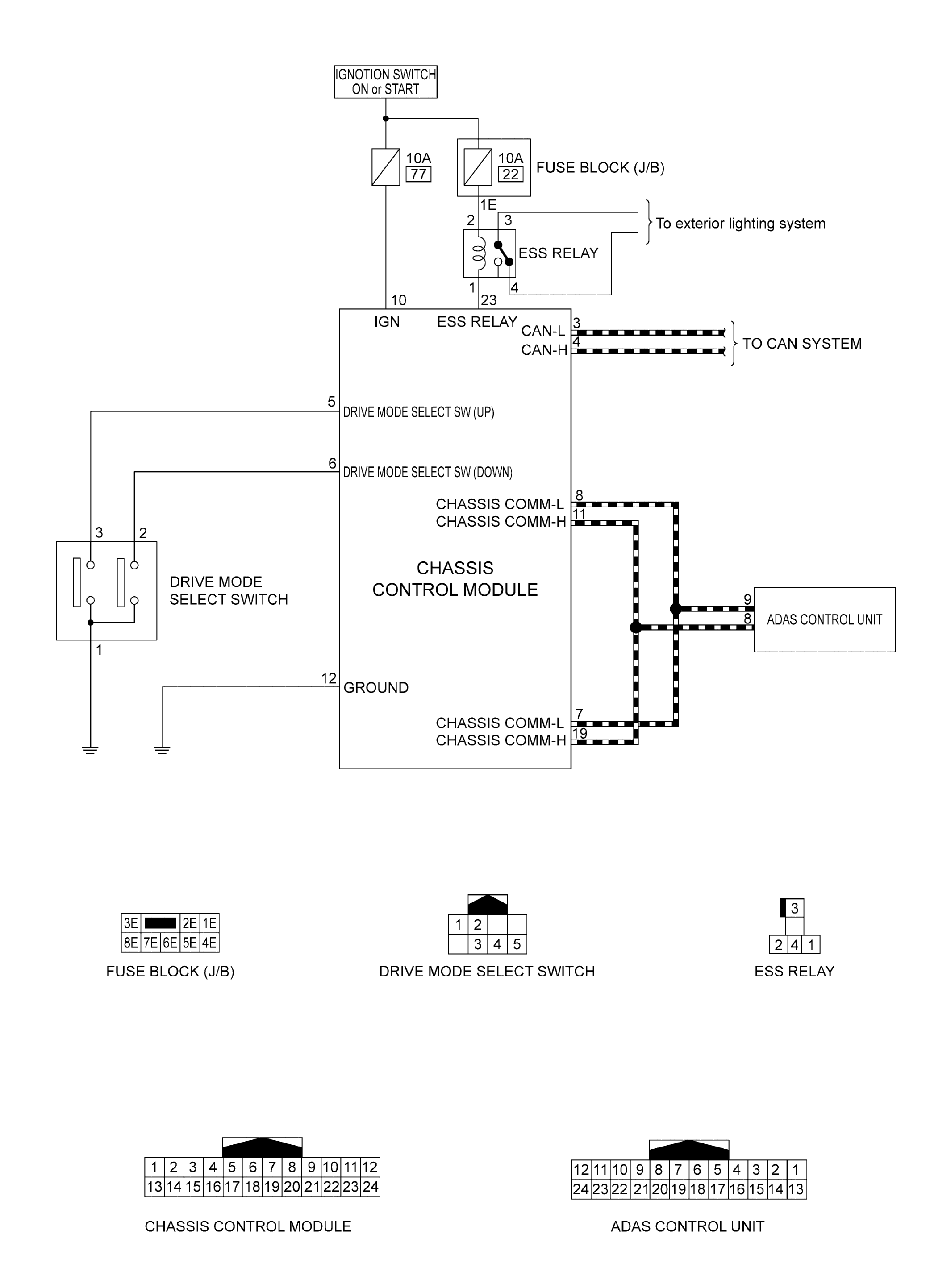
Home >> Infiniti >> 2016 >> Q50 Base, RWD >> Repair and Diagnosis (Single Page) >> Accessories & Equipment >> Drivers Assistance Systems - ADAS >> Driver Assistance System (Chassis Control) (Except Hybrid) >> System Description >> System >> Circuit Diagram >> Models Without Digital Motion Control
April 5, 2026: LEMON Manuals is launched! Read the announcement.

Models Without Digital Motion Control

GNSJSOIA2396GB-396Courtesy of NISSAN NORTH AMERICA, INC.