LEMON Manuals
: Even more car manuals for everyone: 1960-2025
Home
>>
Infiniti
>>
2016
>>
Q50 Base, RWD
>>
Repair and Diagnosis (Single Page)
>>
Steering
>>
Manual Steering
>>
Steering System (Direct Adaptive Steering) (Except Hybrid)
>>
Removal And Installation
>>
Steering Column
>>
Removal And Installation
>>
Installation
>>
Steering Column Assembly
April 5, 2026:
LEMON Manuals is launched!
Read the announcement.
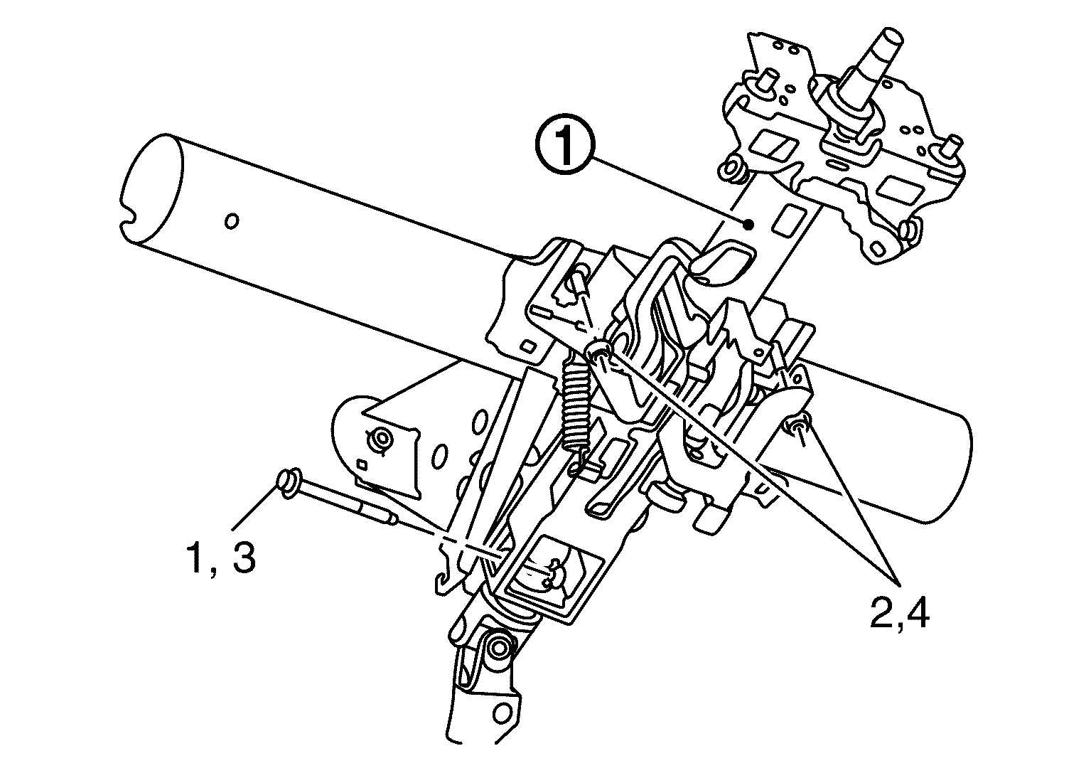
Steering Column Assembly
When installing the steering column assembly
, temporarily tighten the bolt and nuts before tightening to the specified torque, referring to the tightening method and the numerical order shown below:
Courtesy of NISSAN NORTH AMERICA, INC.
Temporary tightening
1 โ 2
Final tightening
(Specified torque)
3 โ 4