LEMON Manuals: Even more car manuals for everyone: 1960-2025
Home >> Infiniti >> 2016 >> QX50 AWD >> Repair and Diagnosis (Single Page) >> Heating, Ventilation & A/C (HVAC) >> HVAC Control Systems >> Heater & Air Conditioning Control System >> System Description >> Compressor Control Function >> Description >> Principle Of Operation >> Functional Circuit Diagram
April 5, 2026: LEMON Manuals is launched! Read the announcement.

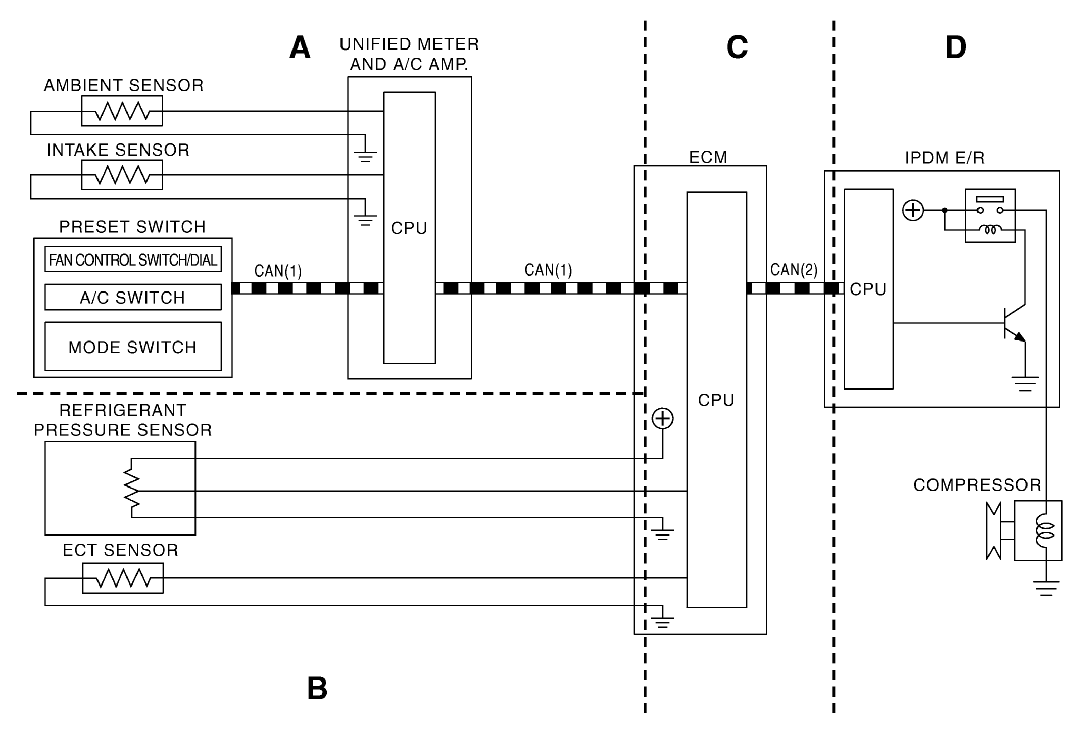
Functional Circuit Diagram

G08195546Courtesy of NISSAN NORTH AMERICA, INC.
CAN(1) : A/C switch signal
: Blower fan motor switch signal
CAN(2) : A/C compressor request signal