LEMON Manuals: Even more car manuals for everyone: 1960-2025
Home >> Infiniti >> 2016 >> QX60 Base, FWD >> Repair and Diagnosis (Single Page) >> Accessories & Equipment >> Anti-Theft Systems >> Door & Lock (Introduction, Wiring Diagrams And Basic Inspection) (Except Hybrid) >> System Description >> System (Intelligent Key System) >> Intelligent Key System >> System Diagram
April 5, 2026: LEMON Manuals is launched! Read the announcement.

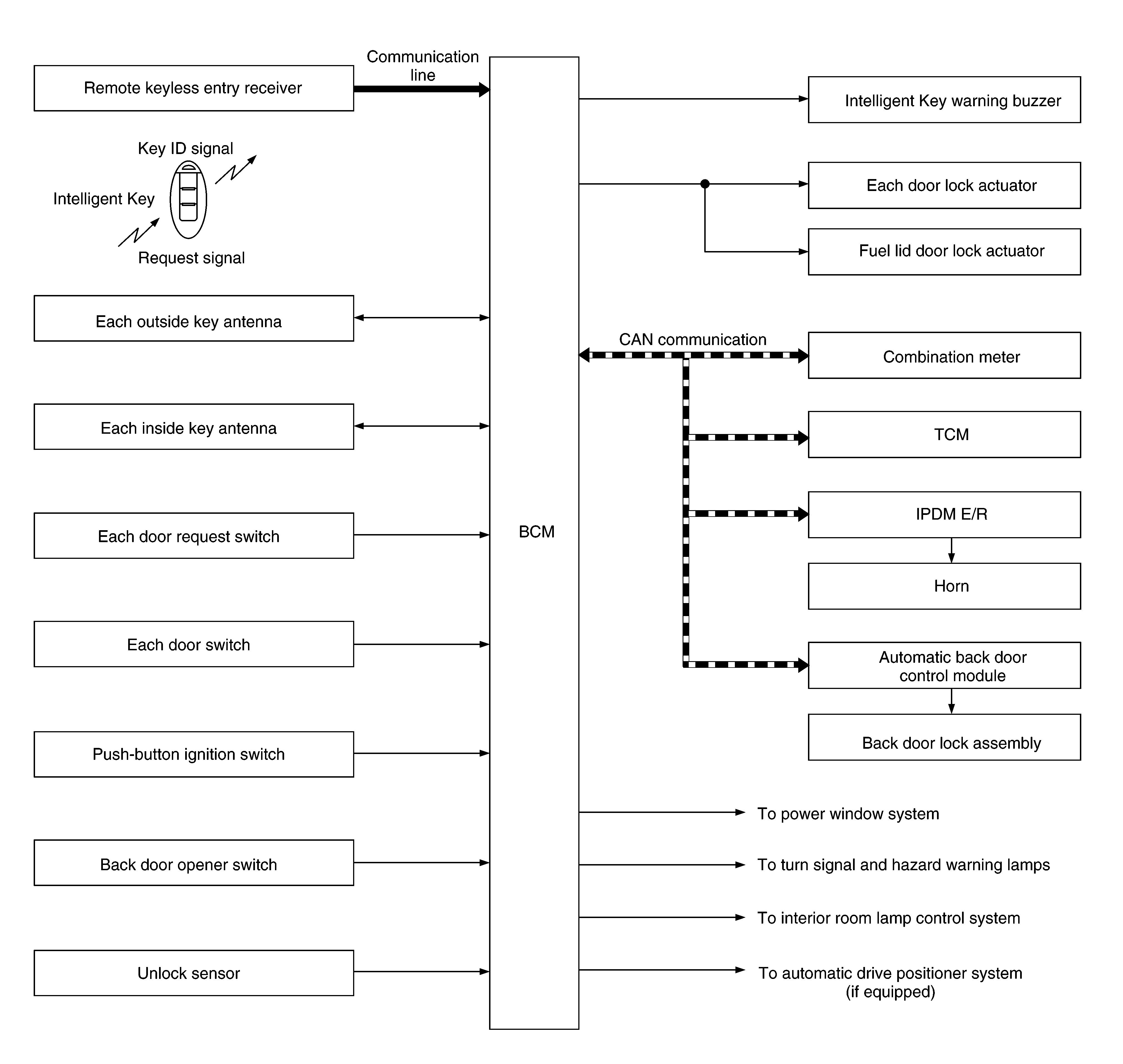
System Diagram

G09426178Courtesy of NISSAN NORTH AMERICA, INC.