LEMON Manuals: Even more car manuals for everyone: 1960-2025
Home >> Infiniti >> 2016 >> QX60 Base, FWD >> Repair and Diagnosis (Single Page) >> Brakes >> Brakes Control Systems >> Brake Control System (Introduction, Wiring Diagrams And Basic Inspection) (With ICC) (Except Hybrid) >> System Description >> System >> Hill Start Assist Function >> System Diagram
April 5, 2026: LEMON Manuals is launched! Read the announcement.

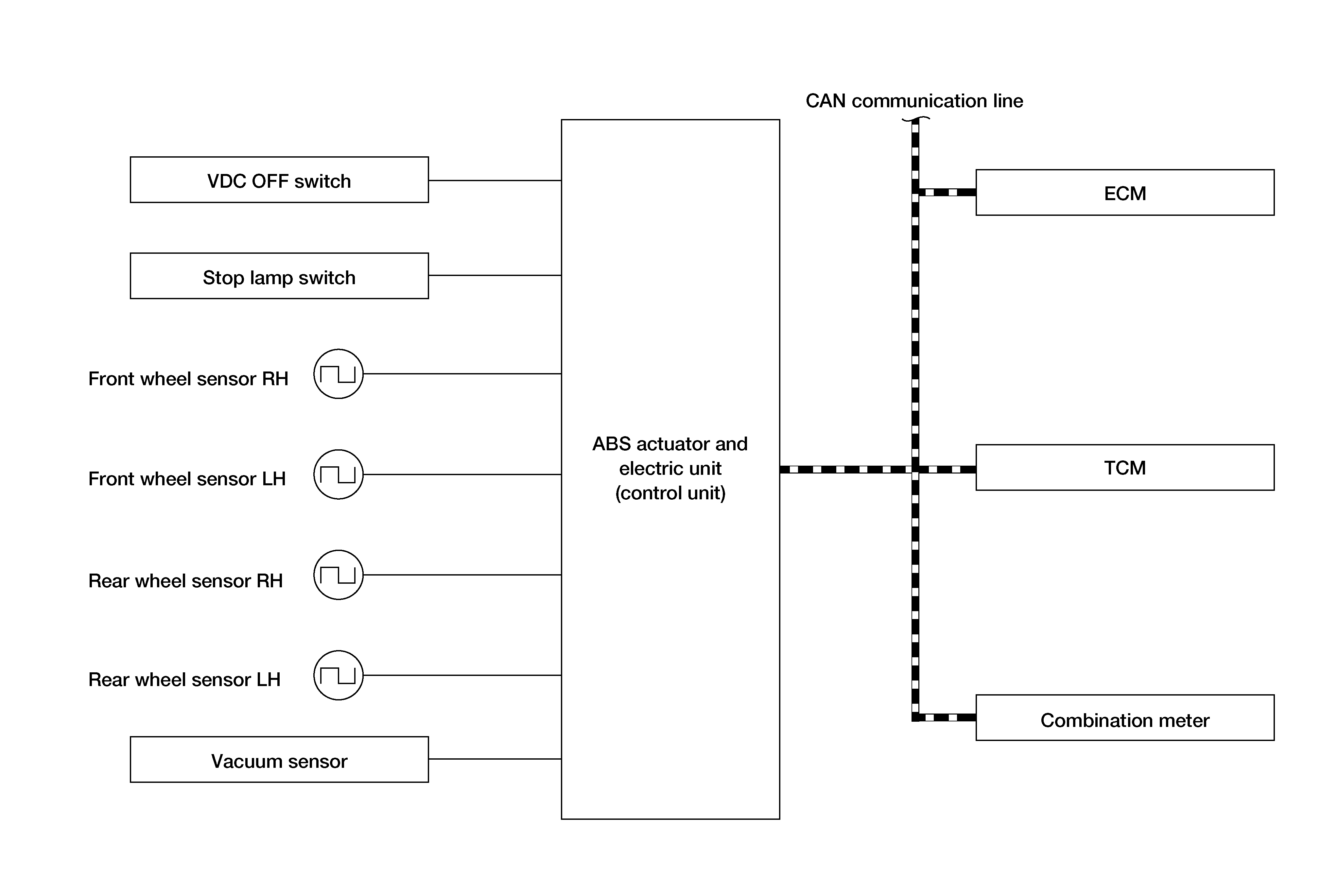
System Diagram

GNSALFIA0521GB-521Courtesy of NISSAN NORTH AMERICA, INC.