LEMON Manuals: Even more car manuals for everyone: 1960-2025
Home >> Infiniti >> 2016 >> QX80 Base, AWD >> Repair and Diagnosis >> Electrical >> Body Electrical >> Power Control System (Power Distribution System) (DTC/Circuit Diagnosis) >> DTC/Circuit Diagnosis >> DTC B2614: Acc Relay Circuit >> Component Inspection >> Diagnostic Test
April 5, 2026: LEMON Manuals is launched! Read the announcement.

Diagnostic Test

  1. CHECK ACCESSORY RELAY

    1. Turn ignition switch OFF.
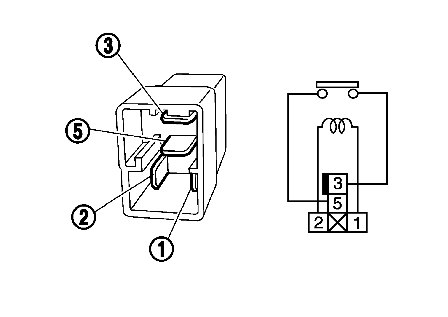
    2. Remove accessory relay.
    3. Check the continuity between accessory relay terminals.
      G04127581Courtesy of NISSAN NORTH AMERICA, INC.
      Terminals Condition Continuity
      3 and 5 12 V direct current supply between terminals 1 and 2 Existed
      No current supply Not existed

    Is the inspection result normal?

    YES 

    INSPECTION END

    NO 

    Replace accessory relay