LEMON Manuals: Even more car manuals for everyone: 1960-2025
Home >> Infiniti >> 2017 >> Q50 Base, AWD >> Repair and Diagnosis (Single Page) >> Engine Performance >> System >> Engine Control System (Introduction) (2.0L) (Except Hybrid) >> System Description >> Component >> Cooling Fan Control Module
April 5, 2026: LEMON Manuals is launched! Read the announcement.

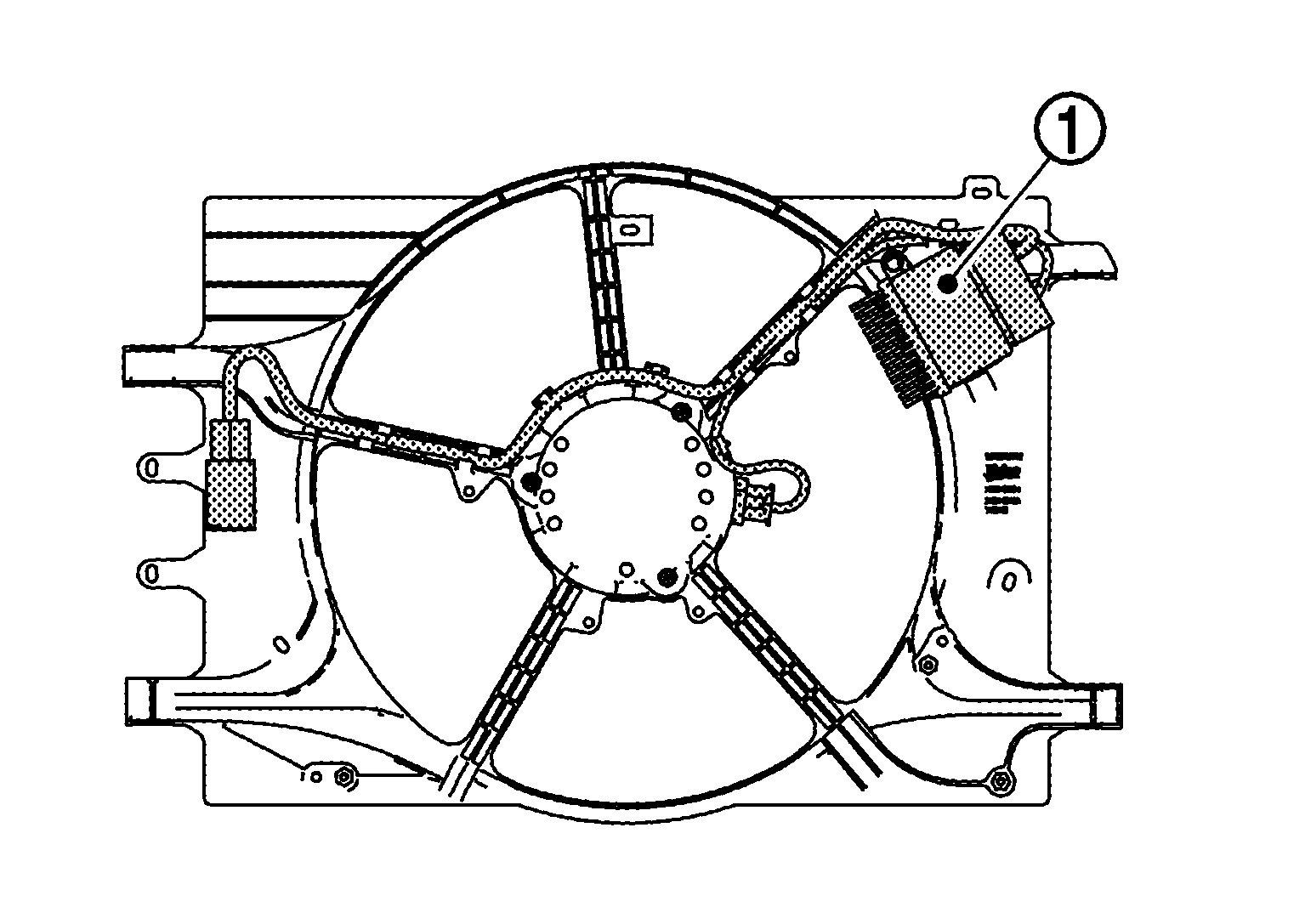
Cooling Fan Control Module

The cooling fan control module WHITE-1 is mounted on the cooling fan housing and drives the cooling fan motor.

GNSJSBIA4043ZZ-043Courtesy of NISSAN NORTH AMERICA, INC.

The cooling fan control module conducts communication between ECM via the PWM communication. The cooling fan control module drives the cooling fan motor so that the cooling fan speed is controlled in accordance with the control signal from ECM.