LEMON Manuals: Even more car manuals for everyone: 1960-2025
Home >> Infiniti >> 2017 >> Q50 Base, AWD >> Repair and Diagnosis >> External Pages >> Different car >> Section 568 (Power Control System (Diagnostics)) >> Component Parts/Circuit Diagnosis >> Accessory Relay >> Component Inspection >> VR30DDTT engine
April 5, 2026: LEMON Manuals is launched! Read the announcement.

VR30DDTT engine

WARNING: This page is about a different car, the 2020 Infiniti Q50. However, it is still accessible from the selected car via links, so may be relevant.
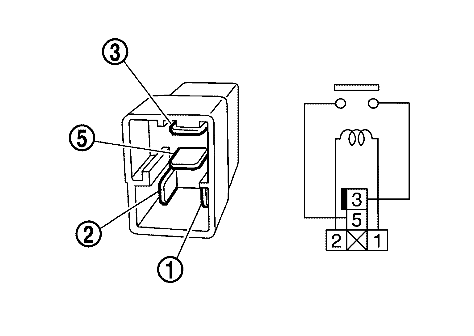
  1. CHECK ACCESSORY RELAY 
    1. Turn ignition switch OFF.
    2. Remove accessory relay.
    3. Check the continuity between accessory relay terminals.
      GNSJMMIA0911Z-911Courtesy of NISSAN NORTH AMERICA, INC.

      Terminals

      Condition

      Continuity

      SYMBOL and SYMBOL

      12 V direct current supply between terminals SYMBOL and SYMBOL

      Existed

      No current supply

      Not existed

    Is the inspection result normal?

    YES

    INSPECTION END

    NO

    Replace accessory relay