LEMON Manuals: Even more car manuals for everyone: 1960-2025
Home >> Infiniti >> 2017 >> Q60 Base, AWD >> Repair and Diagnosis (Single Page) >> Accessories & Equipment >> Cruise Control Systems >> Cruise Control System (ICC) (Introduction) >> System Description >> Operation >> Vehicle-To-Vehicle Distance Control Mode Function >> Switch Name And Function
April 5, 2026: LEMON Manuals is launched! Read the announcement.

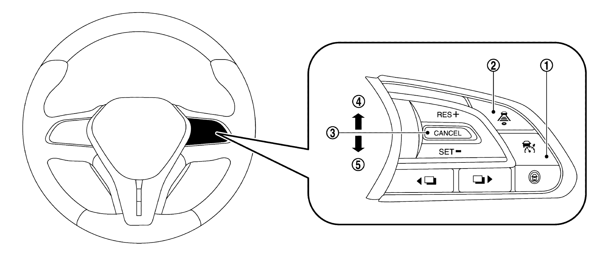
Switch Name And Function

GNSJSOIA2530ZZ-530Courtesy of NISSAN NORTH AMERICA, INC.
No. Switch name Description
WHITE-1 MAIN Switch Master Switch to activate the system (Press for less than 1.5 seconds)
WHITE-2 DISTANCE Switch Changes the following distance from: Long, Middle, Short
WHITE-3 CANCEL Switch Deactivates the system without erasing the set speed
WHITE-4 RESUME/ACCELERATE Switch Resumes set speed or increases speed incrementally
  • Push and hold the Switch to increase the set speed by 5 km/h (5 MPH)
  • Push then quickly release the Switch to increase the set speed by 1 km/h (1 MPH)
WHITE-5 SET/COAST Switch Sets desired cruise speed or reduces speed incrementally
  • Push and hold the Switch to decrease the set speed by 5 km/h (5 MPH)
  • Push then quickly release the Switch to decrease the set speed by 1 km/h (1 MPH)
NOTE:

The minimum set speed is 32 km/h (20 MPH)