LEMON Manuals: Even more car manuals for everyone: 1960-2025
Home >> Infiniti >> 2017 >> Q60 Base, AWD >> Repair and Diagnosis (Single Page) >> Transmission >> Automatic Trans >> Automatic Transmission (Introduction, Wiring Diagrams And Basic Inspection) >> System Description >> System >> Shift Pattern Control >> System Description >> System Diagram
April 5, 2026: LEMON Manuals is launched! Read the announcement.

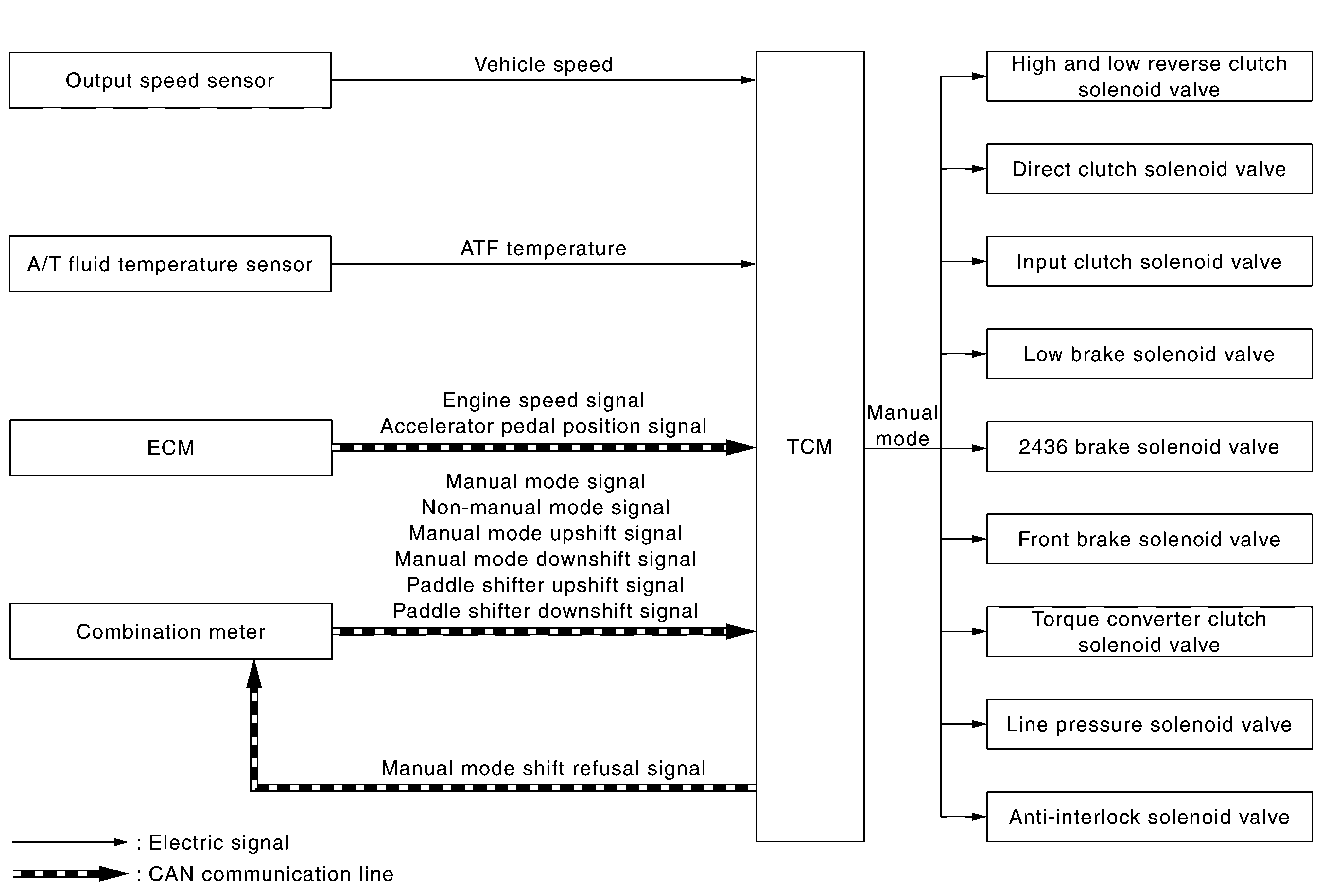
System Diagram

G09160345Courtesy of NISSAN NORTH AMERICA, INC.
NOTE:

Paddle shifter upshift signal and Paddle Shifter downshift signal are applied to vehicle with Paddle Shifter.