LEMON Manuals: Even more car manuals for everyone: 1960-2025
Home >> Infiniti >> 2017 >> Q60 Base, AWD >> Repair and Diagnosis >> Accessories & Equipment >> Cruise Control Systems >> Driver Assistance System (Active Lane Control) >> Precaution >> Precautions >> Precaution For Active Lane Control Service >> PRECAUTION FOR Lane Camera Unit OR Lane Camera Unit 2
April 5, 2026: LEMON Manuals is launched! Read the announcement.

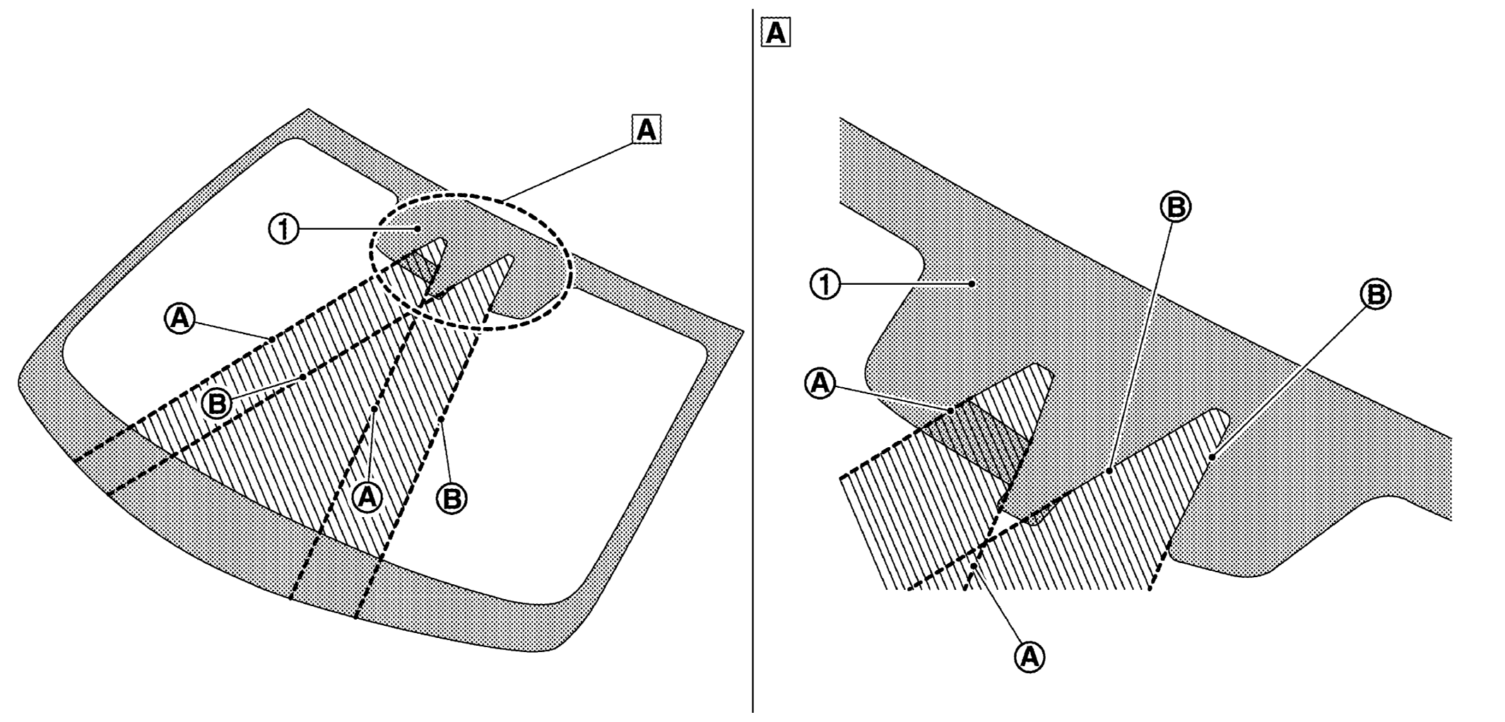
PRECAUTION FOR Lane Camera Unit OR Lane Camera Unit 2

Windshield prohibited area of affixing stickers or accessories.

CAUTION:
  • Never affix a sticker (including transparent one) or install an accessory to the detecting range of Lane Camera Unit or Lane Camera Unit 2.
  • The area within the lines extended from notch of windshield upper portion printed in black is the detecting range of Lane Camera Unit or Lane Camera Unit 2. Affixing a sticker or accessory to this range is prohibited.
    GNSJSOIA2599ZZ-599Courtesy of NISSAN NORTH AMERICA, INC.
    WZ-A Windshield Upper Position        
    WHITE-1 Black Print Part        
    MARU-A-W Line Extended From Notch (Lane Camera Unit) MARU-B-W Line Extended From Notch (Lane Camera Unit 2)