LEMON Manuals: Even more car manuals for everyone: 1960-2025
Home >> Infiniti >> 2017 >> Q60 Base, AWD >> Repair and Diagnosis >> Accessories & Equipment >> Entertainment Systems >> Audio, Visual & Navigation System (Rear View Monitor System) >> DTC/Circuit Diagnosis >> Reverse Signal Circuit >> Component Inspection
April 5, 2026: LEMON Manuals is launched! Read the announcement.

Component Inspection

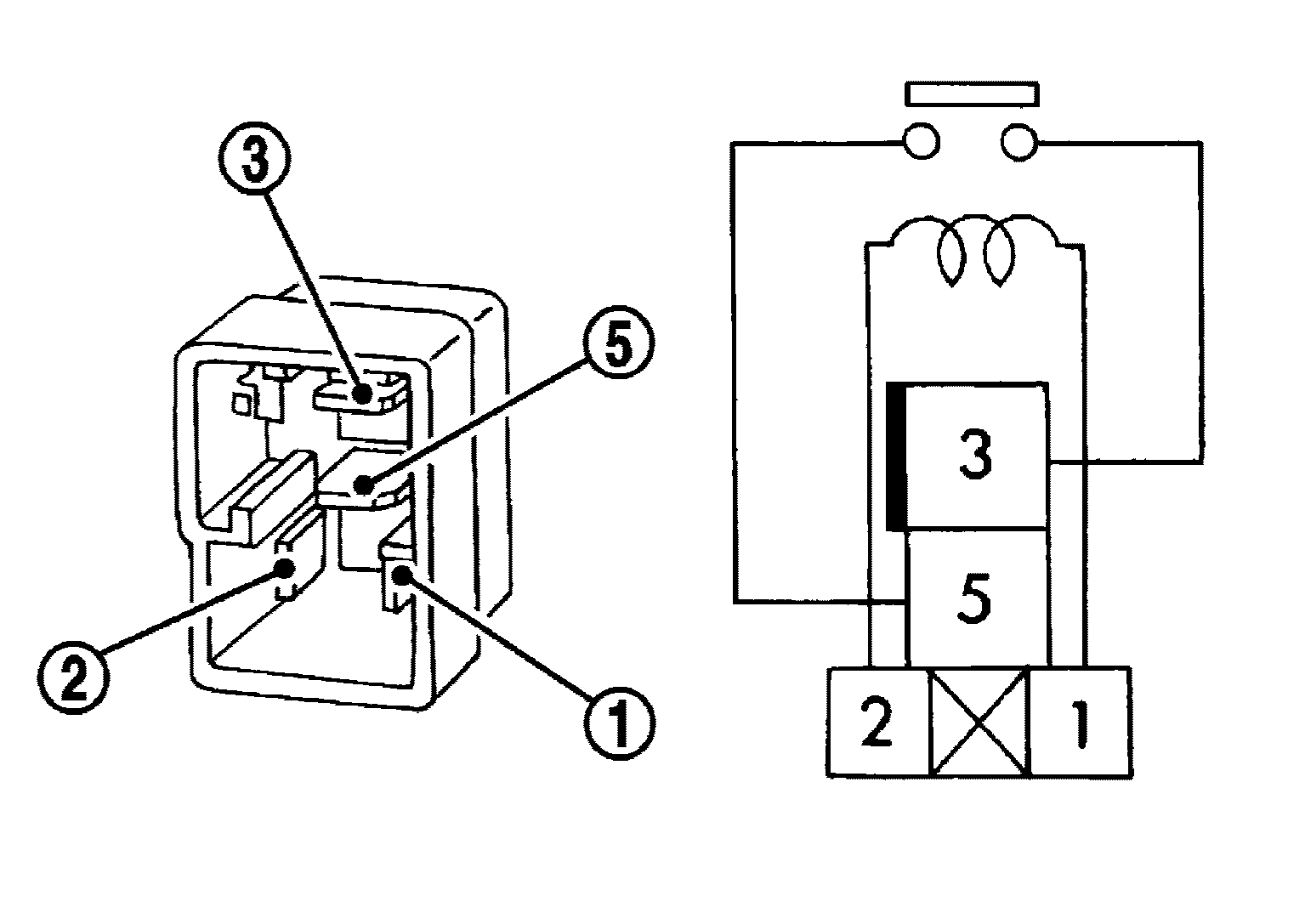
  1. CHECK BACK-UP LAMP RELAY

    1. Turn Ignition Switch OFF.
    2. Remove back-up lamp relay.
    3. Check the continuity between back-up lamp relay terminals as per the following condition.
      G08199638Courtesy of NISSAN NORTH AMERICA, INC.
      Back-Up Lamp Relay Condition Continuity
      Terminal
      3 5 12 V direct current supply between terminals 1 and 2 Existed
      No current supply Not existed

    Is the inspection result normal?

    YES 

    INSPECTION END

    NO 

    Replace back-up lamp relay.