LEMON Manuals: Even more car manuals for everyone: 1960-2025
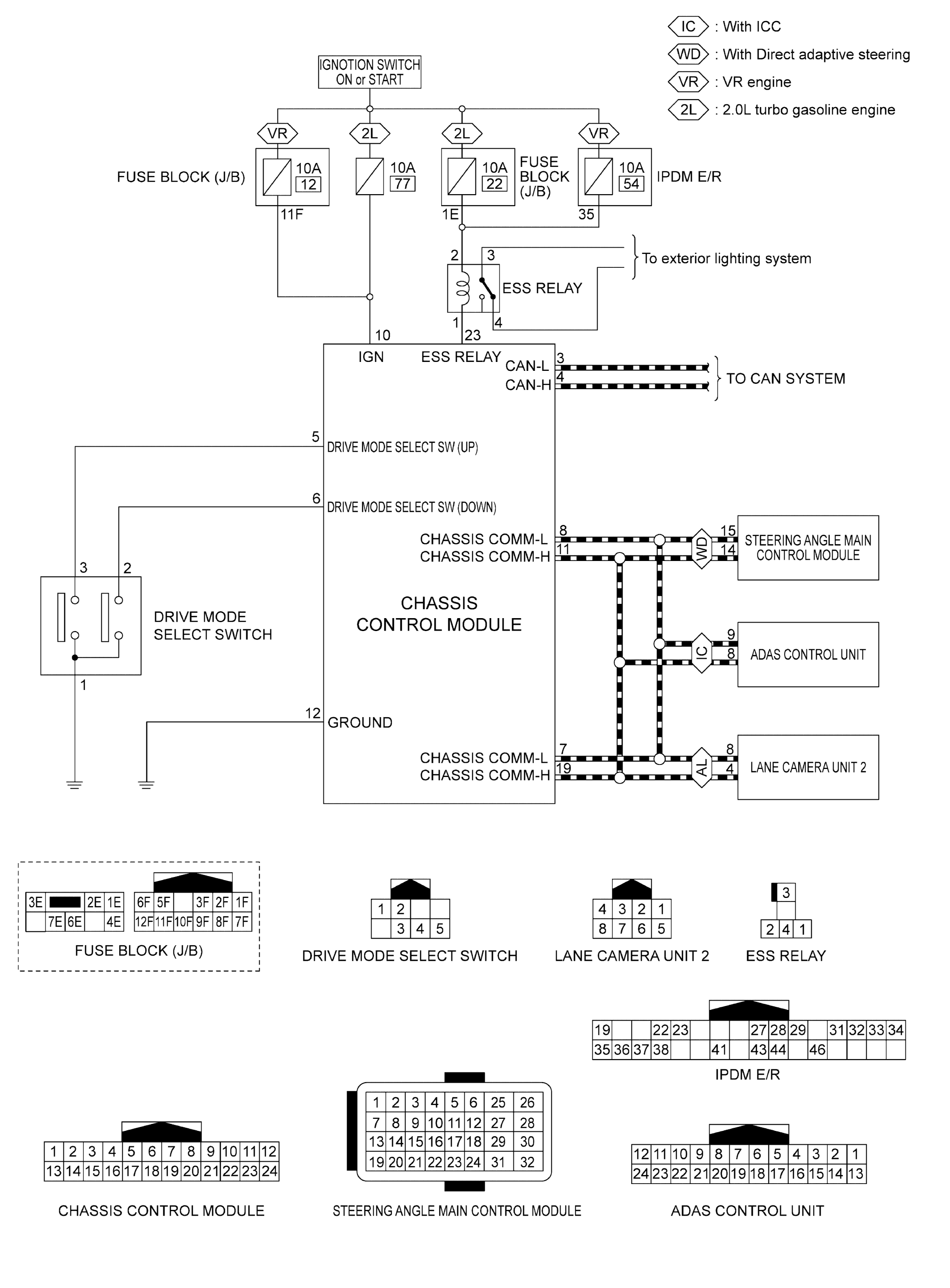
Home >> Infiniti >> 2017 >> Q60 Base, RWD >> Repair and Diagnosis (Single Page) >> Accessories & Equipment >> Collision/Avoidance >> Driver Assistance System (Chassis Control) (Introduction, Basic Inspection, DTC/Circuit Diagnosis (1 Of 2) >> System Description >> System >> Circuit Diagram >> Models Without Digital Motion Control
April 5, 2026: LEMON Manuals is launched! Read the announcement.

Models Without Digital Motion Control

GNSJSOIA2560GB-560Courtesy of NISSAN NORTH AMERICA, INC.