LEMON Manuals: Even more car manuals for everyone: 1960-2025
Home >> Infiniti >> 2017 >> Q60 Base, RWD >> Repair and Diagnosis (Single Page) >> Accessories & Equipment >> Warning Systems >> Cruise Control System (ICC) (Introduction) >> System Description >> Operation >> Conventional (Fixed Speed) Cruise Control Mode Function >> Switch Name And Function
April 5, 2026: LEMON Manuals is launched! Read the announcement.

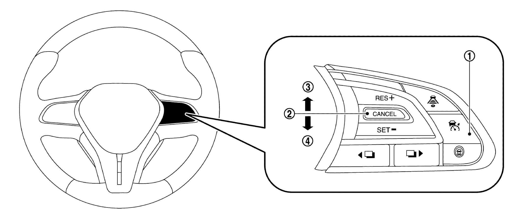
Switch Name And Function

GNSJSOIA2531ZZ-531Courtesy of NISSAN NORTH AMERICA, INC.
No. Description Function
WHITE-1 MAIN Switch Master Switch to activate the system (Press for more than 1.5 seconds)
WHITE-2 CANCEL Switch Deactivates system without erasing set speed
WHITE-3 RESUME/ACCELERATE Switch Resumes set speed or increases speed incrementally
WHITE-4 SET/COAST Switch Sets desired cruise speed or reduces speed incrementally