LEMON Manuals: Even more car manuals for everyone: 1960-2025
Home >> Infiniti >> 2017 >> QX50 AWD >> Repair and Diagnosis (Single Page) >> Accessories & Equipment >> Entertainment Systems >> Audio, Visual & Navigation System (Base Audio Without Navigation) >> System Description >> System >> Multi Av System >> System Diagram
April 5, 2026: LEMON Manuals is launched! Read the announcement.

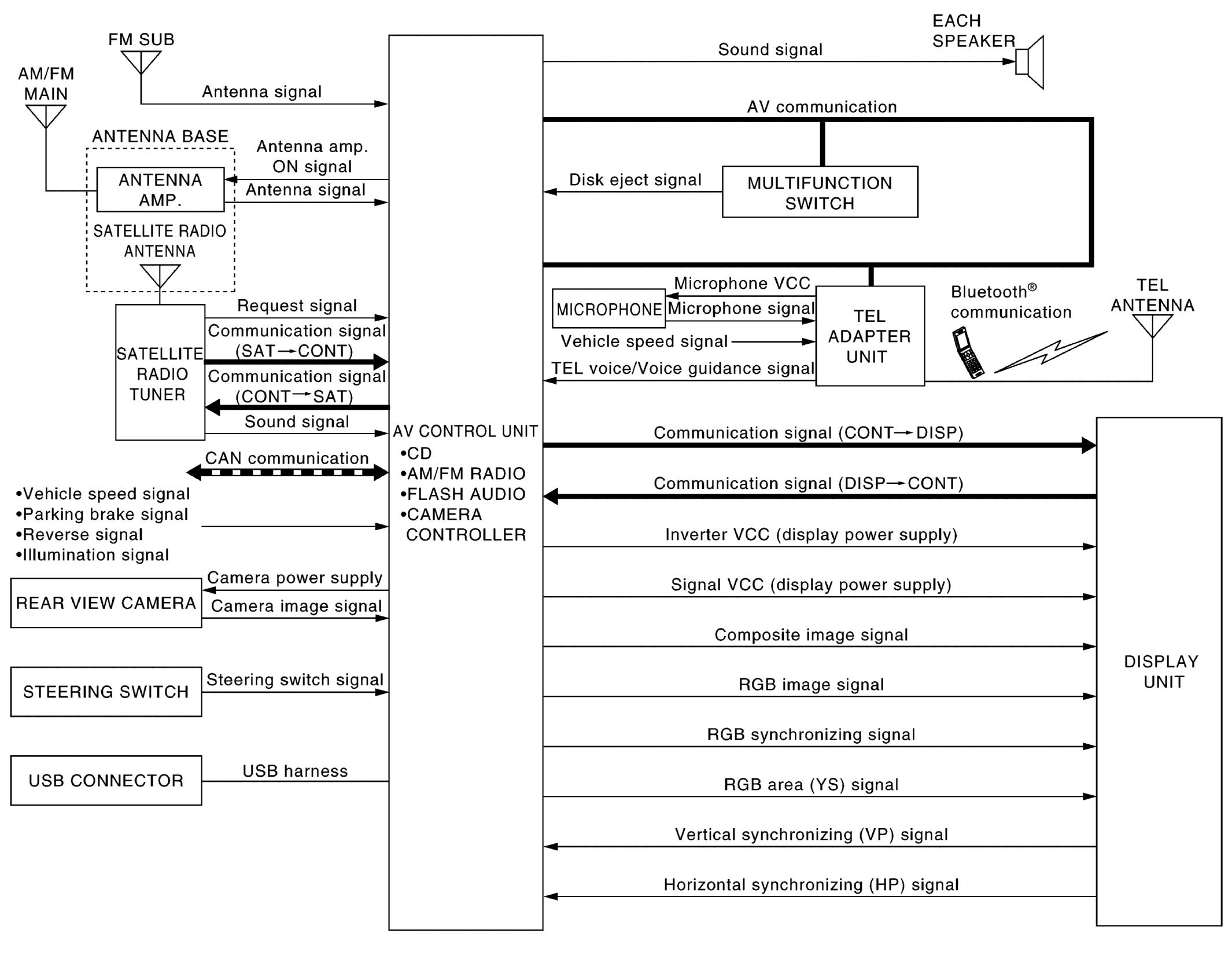
System Diagram

G08998699Courtesy of NISSAN NORTH AMERICA, INC.
NOTE:
  • Flash audio is not used.
  • The name MULTIFUNCTION SWITCH indicates the integration of PRESET SWITCH and MULTIFUNCTION SWITCH virtually.
  • An antenna base integrated with radio antenna and satellite radio antenna is adopted.
    G05731530Courtesy of NISSAN NORTH AMERICA, INC.