LEMON Manuals
: Even more car manuals for everyone: 1960-2025
Home
>>
Infiniti
>>
2017
>>
QX60 Base, FWD
>>
Repair and Diagnosis (Single Page)
>>
Accessories & Equipment
>>
Drivers Assistance Systems - ADAS
>>
Driver Assistance System (Introduction) (Except Hybrid)
>>
System Description
>>
Component Parts
>>
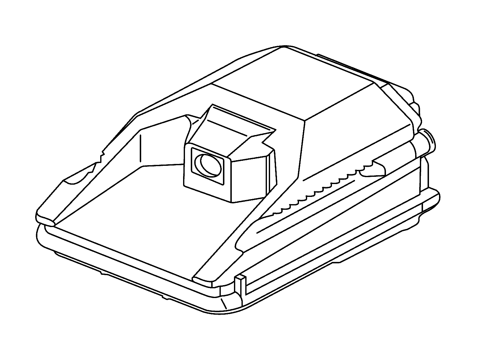
Lane Camera Unit
April 5, 2026:
LEMON Manuals is launched!
Read the announcement.
Lane Camera Unit
Lane camera unit is installed to the windshield and detects the lane marker in travel lane.
Courtesy of NISSAN NORTH AMERICA, INC.
Transmits lane marker signal to ADAS control unit via chassis communication.