LEMON Manuals: Even more car manuals for everyone: 1960-2025
Home >> Infiniti >> 2017 >> QX80 Base, AWD >> Repair and Diagnosis (Single Page) >> Body & Frame >> Door Locks >> Security Control System >> System Description >> System >> Intelligent Key System/Engine Start Function >> System Diagram
April 5, 2026: LEMON Manuals is launched! Read the announcement.

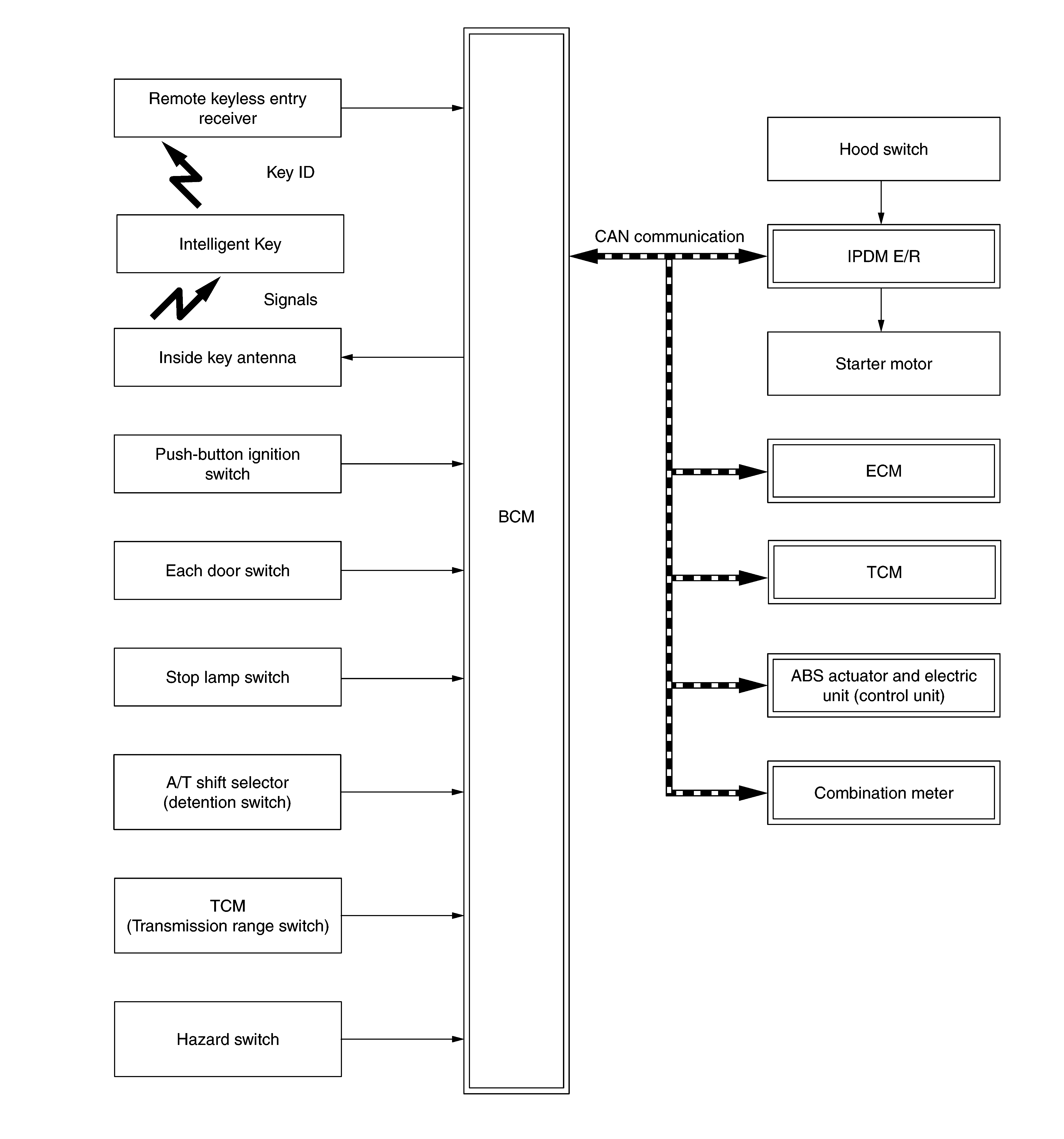
System Diagram

G08877923Courtesy of NISSAN NORTH AMERICA, INC.