LEMON Manuals: Even more car manuals for everyone: 1960-2025
Home >> Infiniti >> 2017 >> QX80 Base, AWD >> Repair and Diagnosis >> Body & Frame >> Windows >> Glass & Window System >> Removal And Installation >> Front Regulator >> Exploded View With Torque Specifications
April 5, 2026: LEMON Manuals is launched! Read the announcement.

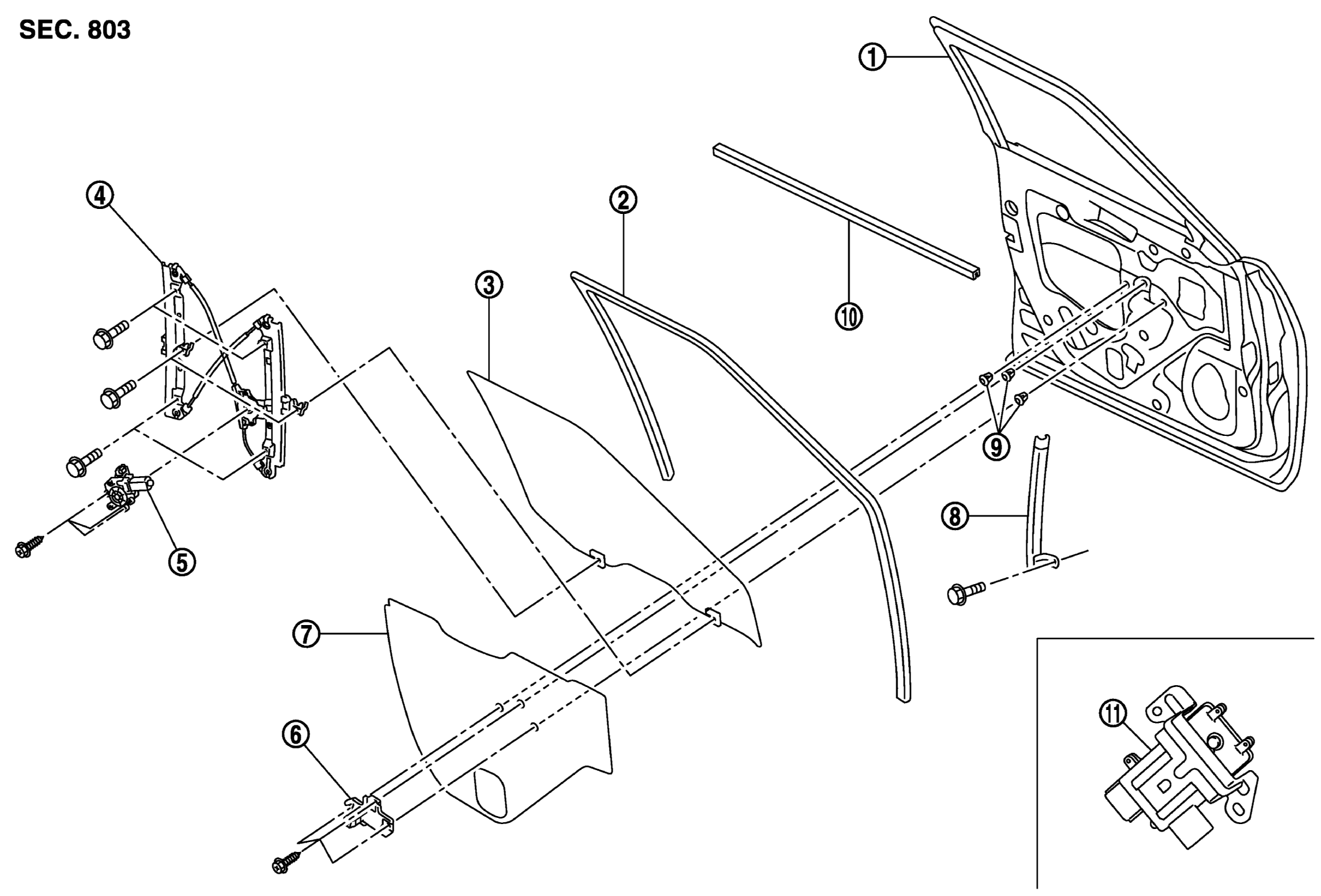
Exploded View With Torque Specifications

GNSJMKIA5208ZZ-208Courtesy of NISSAN NORTH AMERICA, INC.
1. Front door panel 2. Front door glass run 3. Front door glass
4. Front door regulator 5. Front door power window motor 6. Front door pull handle bracket
7. Front door sealing screen 8. Front door lower sash 9. Grommet
10. Front door inside seal 11. Power window controller