LEMON Manuals: Even more car manuals for everyone: 1960-2025
Home >> Infiniti >> 2017 >> QX80 Base, AWD >> Repair and Diagnosis >> Body & Frame >> Windows >> Glass & Window System >> Removal And Installation >> Rear Regulator >> Exploded View With Torque Specifications
April 5, 2026: LEMON Manuals is launched! Read the announcement.

Exploded View With Torque Specifications

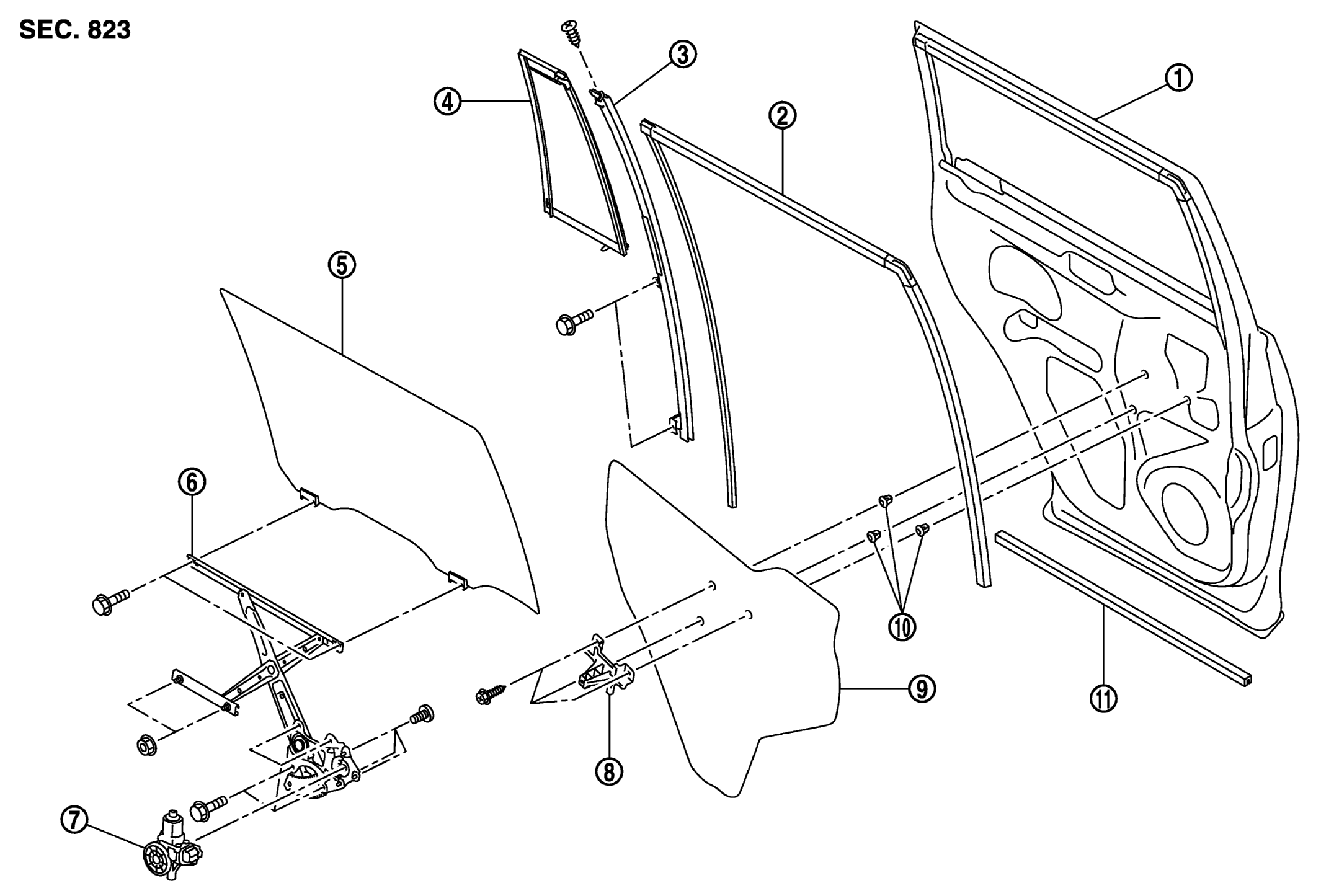
GNSJMKIA5209ZZ-209Courtesy of NISSAN NORTH AMERICA, INC.
1. Rear door panel 2. Rear door glass run 3. Partition sash
4. Partition glass 5. Rear door glass 6. Rear door regulator
7. Rear power window motor 8. Rear door pull handle bracket 9. Rear door sealing screen
10. Grommet 11. Rear door inside seal