LEMON Manuals: Even more car manuals for everyone: 1960-2025
Home >> Infiniti >> 2017 >> QX80 Base, AWD >> Repair and Diagnosis >> External Pages >> Different car >> Section 113 (Interior Lighting System) >> Removal And Installation >> Glove Box Lamp >> Exploded View With Torque Specifications
April 5, 2026: LEMON Manuals is launched! Read the announcement.

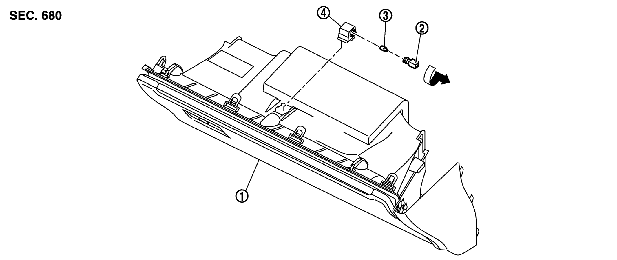
Exploded View With Torque Specifications

WARNING: This page is about a different car, the 2016 Infiniti QX80. However, it is still accessible from the selected car via links, so may be relevant.
GNSJMLIA1050ZZ-050Courtesy of NISSAN NORTH AMERICA, INC.
1. Glove box assembly 2. Bulb socket 3. Bulb
4. Lamp housing