LEMON Manuals: Even more car manuals for everyone: 1960-2025
Home >> Infiniti >> 2017 >> QX80 Base, AWD >> Repair and Diagnosis >> External Pages >> Different car >> Section 98 (Starting System) >> Basic Inspection >> Diagnosis And Repair Work Flow >> Work Flow (Without Gr8-1200 NI) >> Overall Sequence
April 5, 2026: LEMON Manuals is launched! Read the announcement.

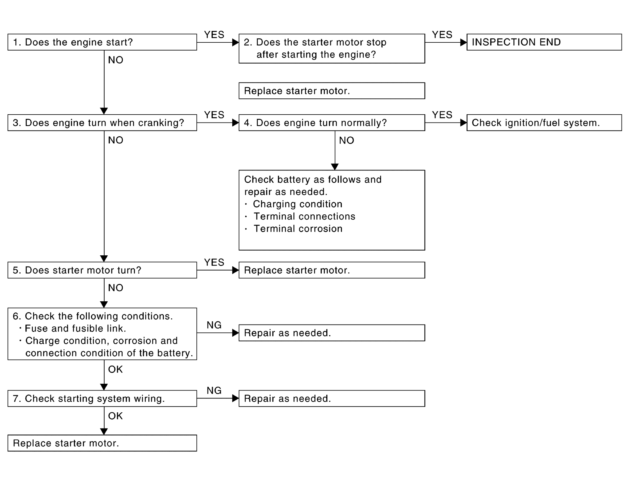
Overall Sequence

WARNING: This page is about a different car, the 2016 Infiniti QX50. However, it is still accessible from the selected car via links, so may be relevant.
G08851100Courtesy of NISSAN NORTH AMERICA, INC.