LEMON Manuals: Even more car manuals for everyone: 1960-2025
Home >> Infiniti >> 2018 >> Q60 Pure, AWD >> Repair and Diagnosis (Single Page) >> Steering >> Steering Column >> Steering System - Direct Adaptive Steering >> Direct Adaptive Steering >> Removal And Installation >> Steering Gear And Linkage >> Disassembly and Assembly >> Assembly
April 5, 2026: LEMON Manuals is launched! Read the announcement.

Disassembly and Assembly: Assembly

CAUTION: Disassemble and assemble steering gear assembly by fixing the mounting area with a vise using copper plates.
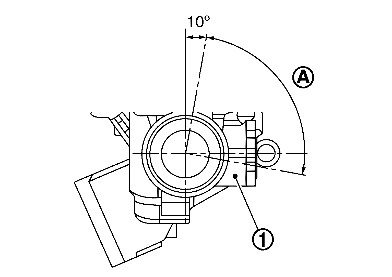
  1. Install inner socket to gear housing assembly.
  2. Apply multi-purpose grease to inner socket SYMBOL part.
    GNSJSGIA1366Z-366Courtesy of NISSAN NORTH AMERICA, INC.
  3. Install large end SYMBOL of boot SYMBOL to gear housing assembly.
    GNSJSGIA1182Z-182Courtesy of NISSAN NORTH AMERICA, INC.

    SYMBOL

    : Small end of boot

    CAUTION: Never reuse boot.
  4. Install small end of boot to inner socket boot mounting groove.
  5. Install boot clamp to boot small end.
  6. Install boot clamp to the large side of boot with the following procedure.
    CAUTION: Never reuse boot clamp.
    1. Tighten large side of boot with boot clamp (stainless wire).
      G04076776Courtesy of NISSAN NORTH AMERICA, INC.

      Wire length (L)

      : 376 mm (14.80 in)

    2. Wrap clamp around boot groove for two turns. Insert a flat-bladed screwdriver in loops on both ends of wire. Twist 3 to 3.5 turns while pulling them with force of approximately 98 N (10 kg, 22 lb).
    3. Twist boot clamp as shown. Pay attention to relationship between winding and twisting directions.
      G04076777Courtesy of NISSAN NORTH AMERICA, INC.
    4. Twisted area SYMBOL of clamp is in the adjusting screw side SYMBOL as shown in the figure (to prevent contact with other parts).
      GNSJSGIA1355Z-355Courtesy of NISSAN NORTH AMERICA, INC.

      SYMBOL

      : 90 deg.

  7. Adjust inner socket to standard length (L), and then tighten lock nut SYMBOL to the specified torque. Check length again after tightening lock nut.
    GNSJPGIA0187Z-187Courtesy of NISSAN NORTH AMERICA, INC.

    Inner socket length (L)

    : Refer to Steering Gear and Linkage .

    CAUTION:
    • When tightening the lock nut SYMBOL , be sure to fix outer socket SYMBOL with a wrench or an equivalent to prevent the ball joint from getting contact with the knuckle.
      GNSJSGIA0538Z-538Courtesy of NISSAN NORTH AMERICA, INC.
    • Adjust toe-in after this procedure. The length achieved after toe-in adjustment is not necessary the above value.