LEMON Manuals: Even more car manuals for everyone: 1960-2025
Home >> Infiniti >> 2018 >> Q60 Sport, RWD >> Repair and Diagnosis >> Electrical >> Body Electrical >> Power Control System >> System Description >> System >> System Description >> System Diagram
April 5, 2026: LEMON Manuals is launched! Read the announcement.

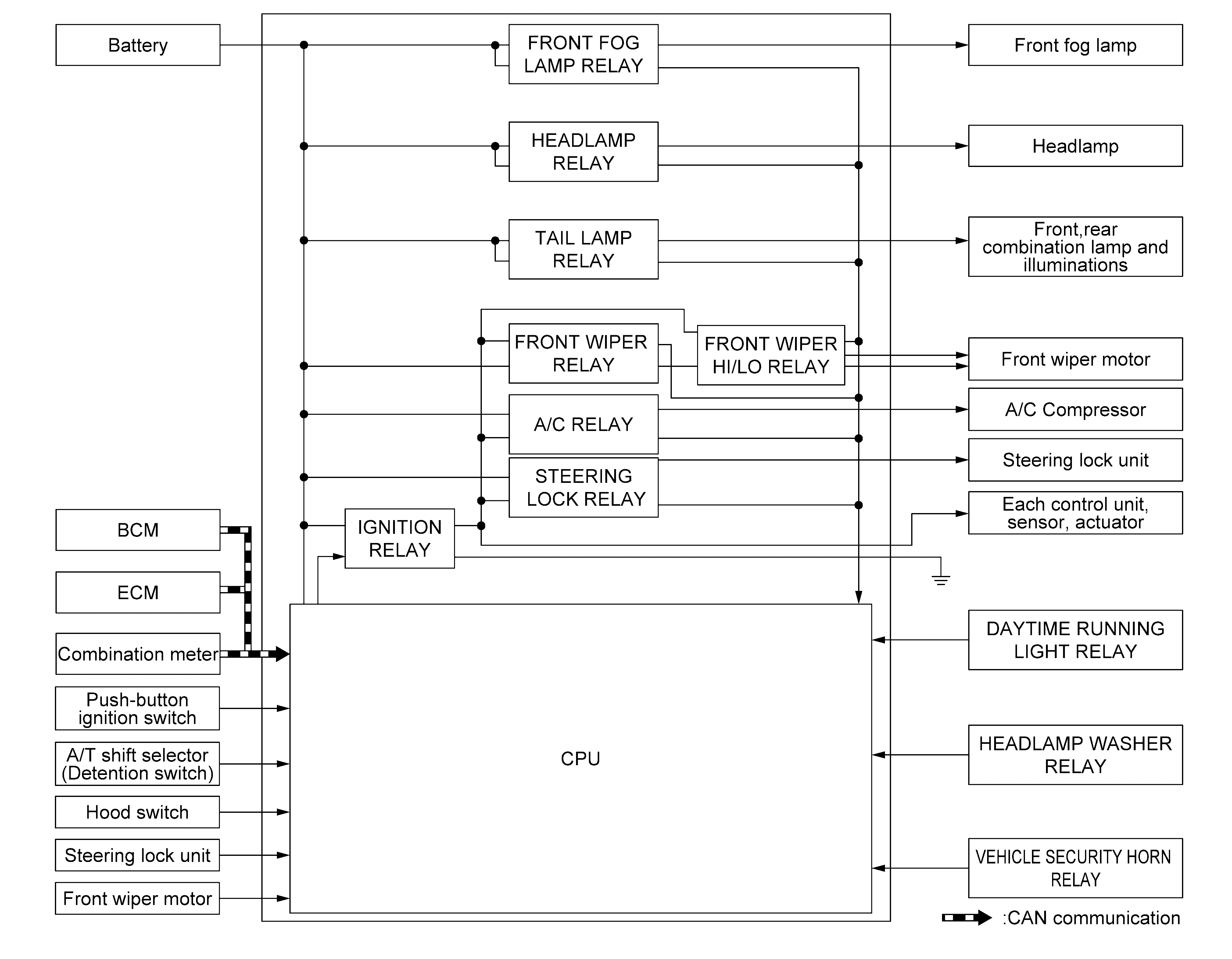
System Diagram

VR30DDTT Engine Models 

GNSILL0113761-761Courtesy of NISSAN NORTH AMERICA, INC.

2.0L Turbo Gasoline Engine Models 

GNSILL0113762-762Courtesy of NISSAN NORTH AMERICA, INC.