LEMON Manuals: Even more car manuals for everyone: 1960-2025
Home >> Infiniti >> 2018 >> QX30 Base >> Repair and Diagnosis >> Accessories & Equipment >> Cruise Control Systems >> Cruise Control System >> System Description >> System >> Circuit Diagram
April 5, 2026: LEMON Manuals is launched! Read the announcement.

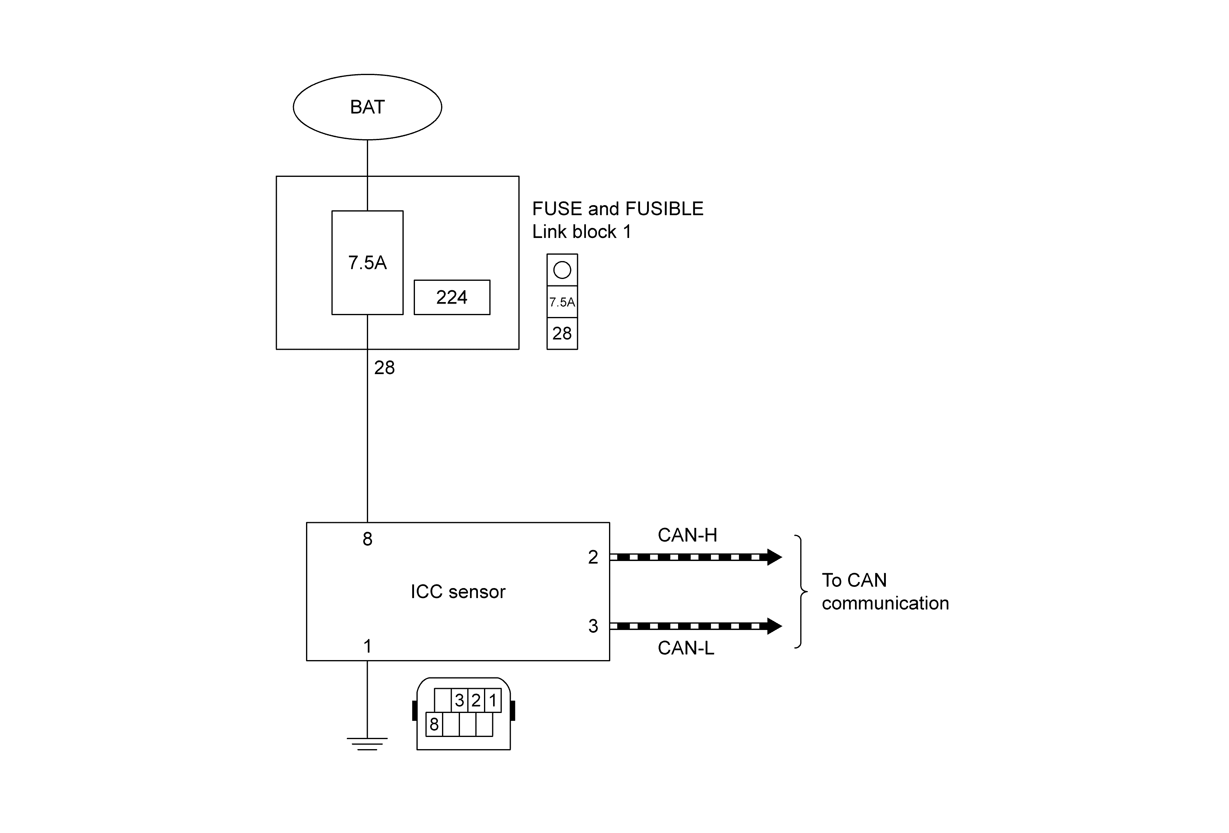
Circuit Diagram

GNSJSOIA2327GB-327Courtesy of NISSAN NORTH AMERICA, INC.