LEMON Manuals: Even more car manuals for everyone: 1960-2025
Home >> Infiniti >> 2018 >> QX30 Base >> Repair and Diagnosis >> External Pages >> Different car >> Section 69 (Driver Assistance System) >> Driver Assistance System >> System Description >> Component Parts >> ICC Brake Hold Relay
April 5, 2026: LEMON Manuals is launched! Read the announcement.

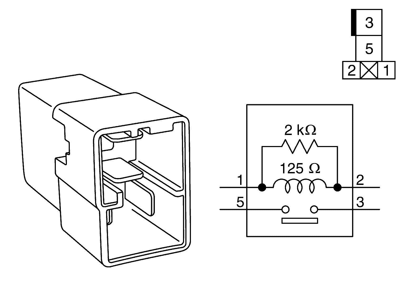
ICC Brake Hold Relay

WARNING: This page is about a different car, the 2018 Infiniti Q60. However, it is still accessible from the selected car via links, so may be relevant.