LEMON Manuals: Even more car manuals for everyone: 1960-2025
Home >> Infiniti >> 2018 >> QX30 Premium, FWD >> Repair and Diagnosis >> Body & Frame >> Windows >> Power Window Control System >> System Description >> System >> Circuit Diagram
April 5, 2026: LEMON Manuals is launched! Read the announcement.

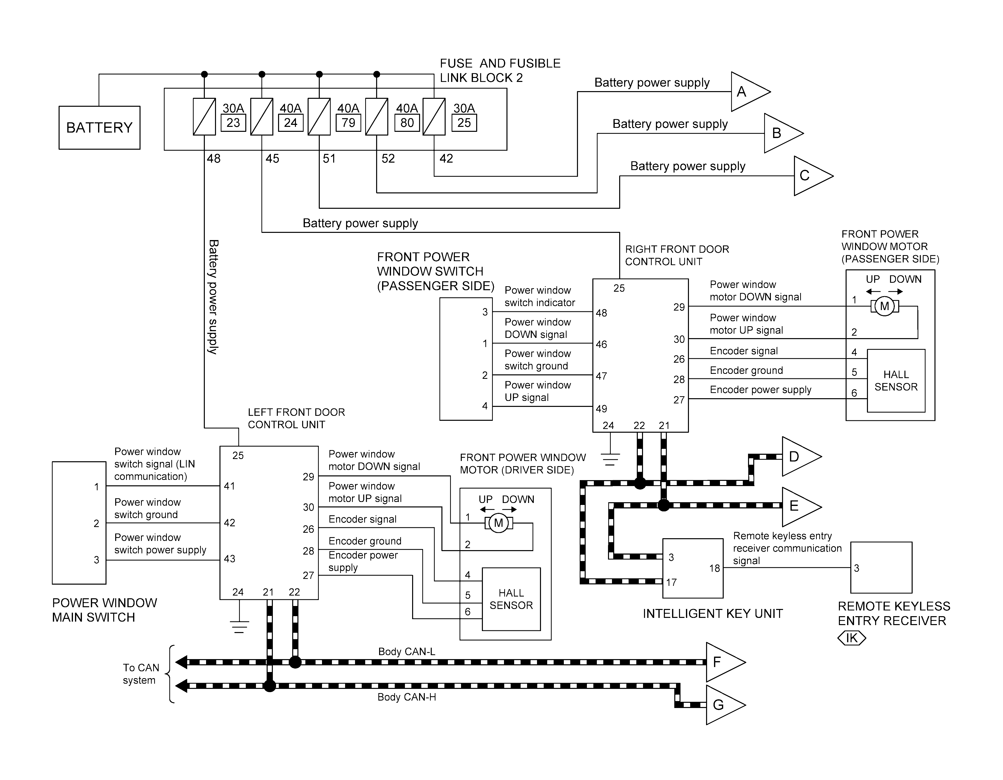
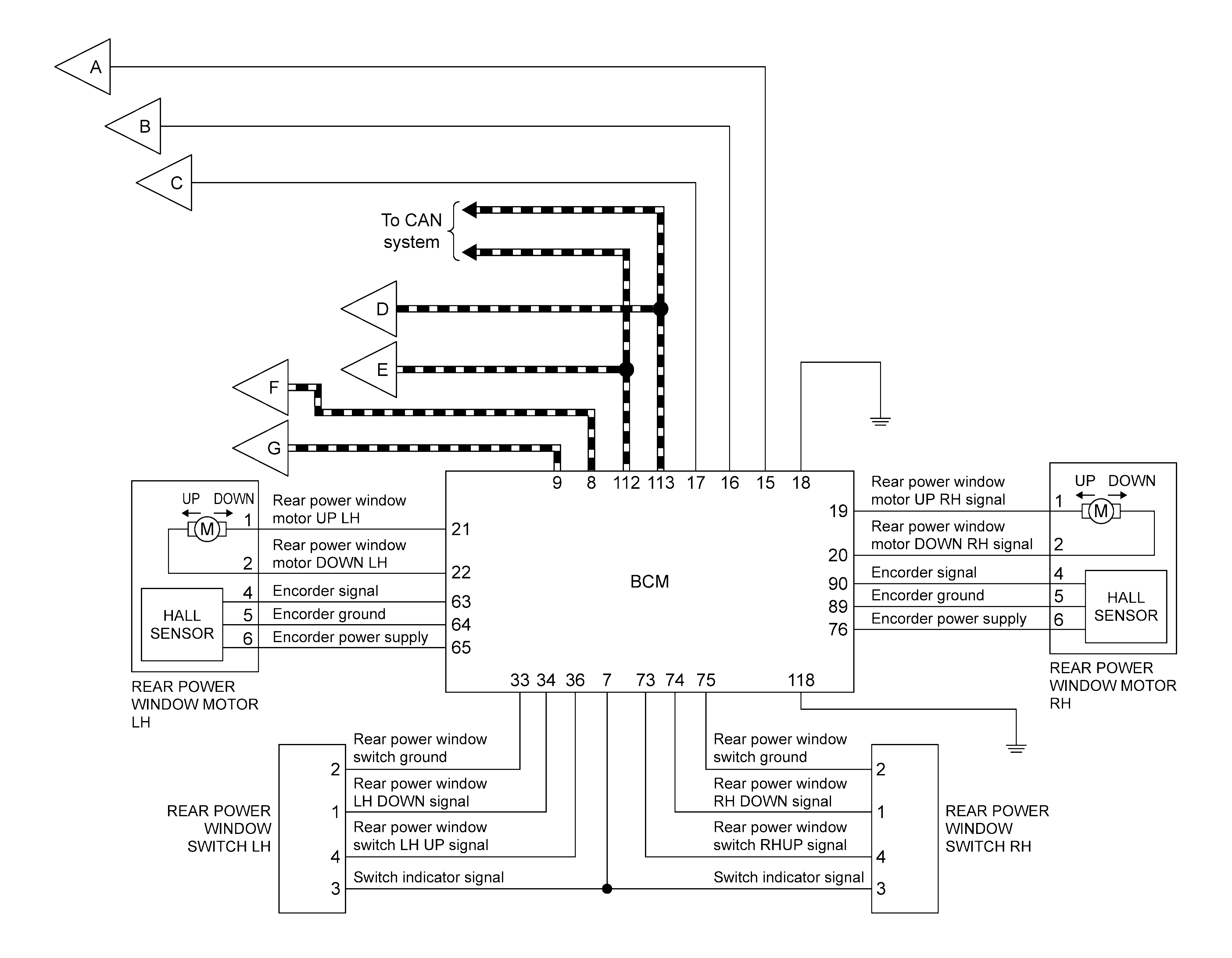
Circuit Diagram

GNSJMKIB6579GB-579Courtesy of NISSAN NORTH AMERICA, INC.
GNSJMKIB6449GB-449Courtesy of NISSAN NORTH AMERICA, INC.
GNSJMKIB6580GB-580Courtesy of NISSAN NORTH AMERICA, INC.