LEMON Manuals: Even more car manuals for everyone: 1960-2025
Home >> Infiniti >> 2018 >> QX60 AWD >> Repair and Diagnosis (Single Page) >> Accessories & Equipment >> Drivers Assistance Systems - ADAS >> Cruise Control System >> Basic Inspection >> Distance Sensor (ICC Sensor) Alignment >> Vehicle Set Up >> Description
April 5, 2026: LEMON Manuals is launched! Read the announcement.

Vehicle Set Up: Description

Accurate adjustment of the radar alignment requires that the target board, wheel adapter, laser assembly, and rear stand be properly positioned.

CAUTION: If the radar alignment is adjusted with the target board, wheel adapter, laser assembly, or rear stand in the incorrect position, the ICC system will not function properly or the alignment procedure may not be completed successfully.
  1. PREPOSITION TARGET BOARD 
    NOTE:
    • To identify the sensor wave axis center, measure the point SYMBOL as shown in the illustration, below.
      GNSDB118036Courtesy of NISSAN NORTH AMERICA, INC.

      A

      : 318 mm (12.50 in)

      B

      : 445 mm (17.50 in)

    • Target board setting must be in the center position. (Position 2)
    1. Position the target board in front facing the right front side of the vehicle:
      GNSALOIA0115Z-115Courtesy of NISSAN NORTH AMERICA, INC.
      1. Place the marked center of the target board SYMBOL 1060 mm (41.73 in.) +/- 50 mm (1.97 in) facing the distance sensor (ICC sensor).
      2. Adjust the height of the target board using the adjustable nut SYMBOL to achieve the proper height. The up/down tolerance is +/- 30 mm (1.18 in).
      3. Adjust the target board lateral position aligning the marked center of the board horizontally with the center of the distance sensor (ICC sensor). The right/left tolerance is +/- 80 mm (3.15 in).
    2. Extend the machined arm of the target board exposing the reflective surface SYMBOL to the right front side of the vehicle.
    3. Place one side of the laser assembly SYMBOL flush against the center of the target board SYMBOL to assist in the positioning.
      GNSDB111881Courtesy of NISSAN NORTH AMERICA, INC.
    4. Turn the laser assembly ON SYMBOL allowing the laser beam to emit through the opening of the laser assembly toward the center of the distance sensor (ICC sensor).
    5. Move the target board SYMBOL as necessary so that center of target board aligns with center of distance sensor (ICC sensor).
    6. Turn the laser assembly OFF when done.

    Are using Hunter alignment equipment?

    YES

    Refer to Hunter's equipment instructions for complete vehicle set up and target board setting. Then, refer to Distance Sensor (ICC Sensor) Adjustment .

    NO

    GO TO 2.

  2. INSTALLING LASER ASSEMBLY 
    NOTE:
    • Insure the steering wheel is positioned in the center straight forward position.
    • Insure all 4 vehicle wheels do not contain any physical damage.
    1. Install the wheel adapter SYMBOL on the right front wheel.
      GNSALOIA0118Z-118Courtesy of NISSAN NORTH AMERICA, INC.
    2. Mount the laser assembly SYMBOL to the wheel adapter SYMBOL as shown in the figure, above.
      NOTE: When the power switch is turned ON, the front laser signal SYMBOL will be emitted toward the target board, and the rear laser signal SYMBOL will be emitted toward the rear of the vehicle.

    GO TO 3.

  3. SETTING UP REAR STAND 
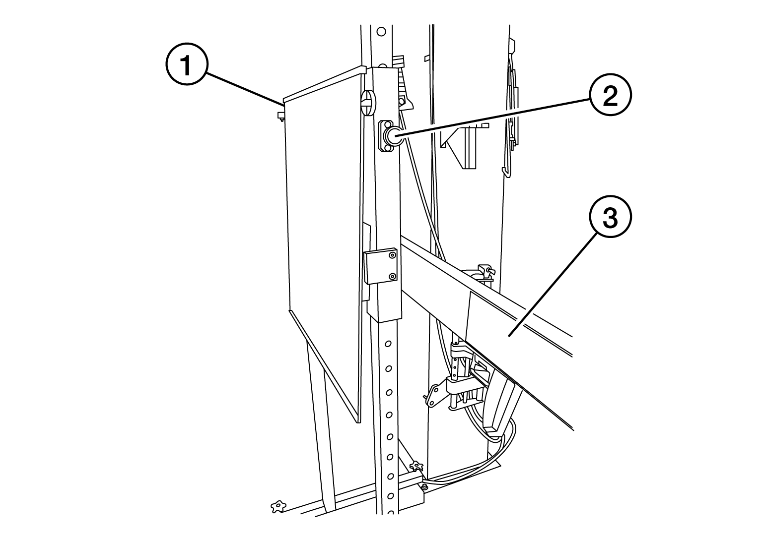
    1. Place the rear stand next to the right rear tire as shown in the figure, below.
      GNSALOIA0114Z-114Courtesy of NISSAN NORTH AMERICA, INC.
    2. Turn the laser assembly ON allowing the laser beam to be emitted through the front and rear laser assembly openings.
    3. Measure and record the distance (D r ) between the edge of the right rear wheel and the laser beam SYMBOL on the rear stand (horizontal line).
    4. Measure and record the height (H r ) between the laser beam SYMBOL on the rear stand and ground level (vertical line).
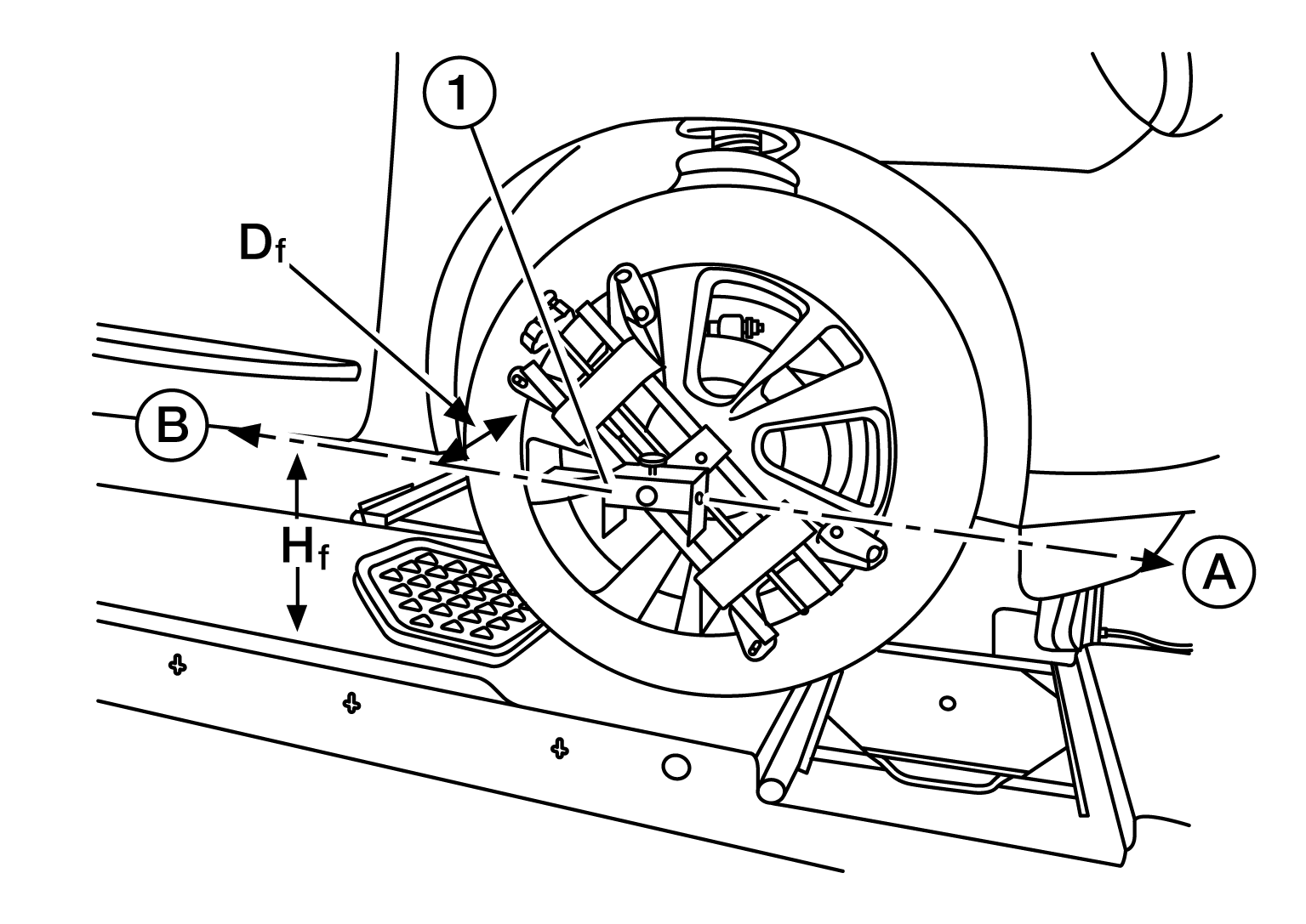
    5. Measure and record the distance (D f ) between the edge of the right front wheel and the laser beam signal/opening SYMBOL on the laser assembly (horizontal line).
      GNSALOIA0123Z-123Courtesy of NISSAN NORTH AMERICA, INC.
    6. Measure and record the height (H f ) between the laser beam signal/opening SYMBOL on the laser assembly and ground level (vertical line).
      NOTE:
      • Horizontal adjustment [front distance (D f) and rear distance (D r )] is accomplished by slowly turning the steering wheel until the 2 distances are the same.
      • Vertical adjustment [front height (H f) and rear height (H r )] is accomplished by rotating the laser assembly around its axis until the two heights are the same.
      • Directional arrows SYMBOL and SYMBOL are shown to illustrate the direction of the laser assembly beams.
    7. Adjust laser beam as necessary until the two distances match and the two heights match.
      NOTE: Verify both horizontal and vertical adjustments anytime one adjustment is made.

    Refer to Setting The Target Board .