LEMON Manuals: Even more car manuals for everyone: 1960-2025
Home >> Infiniti >> 2018 >> QX80 AWD >> Repair and Diagnosis >> Electrical >> Body Electrical >> Body Control System (Diagnostics) >> Description >> System >> Power Consumption Control System >> System Description >> System Diagram
April 5, 2026: LEMON Manuals is launched! Read the announcement.

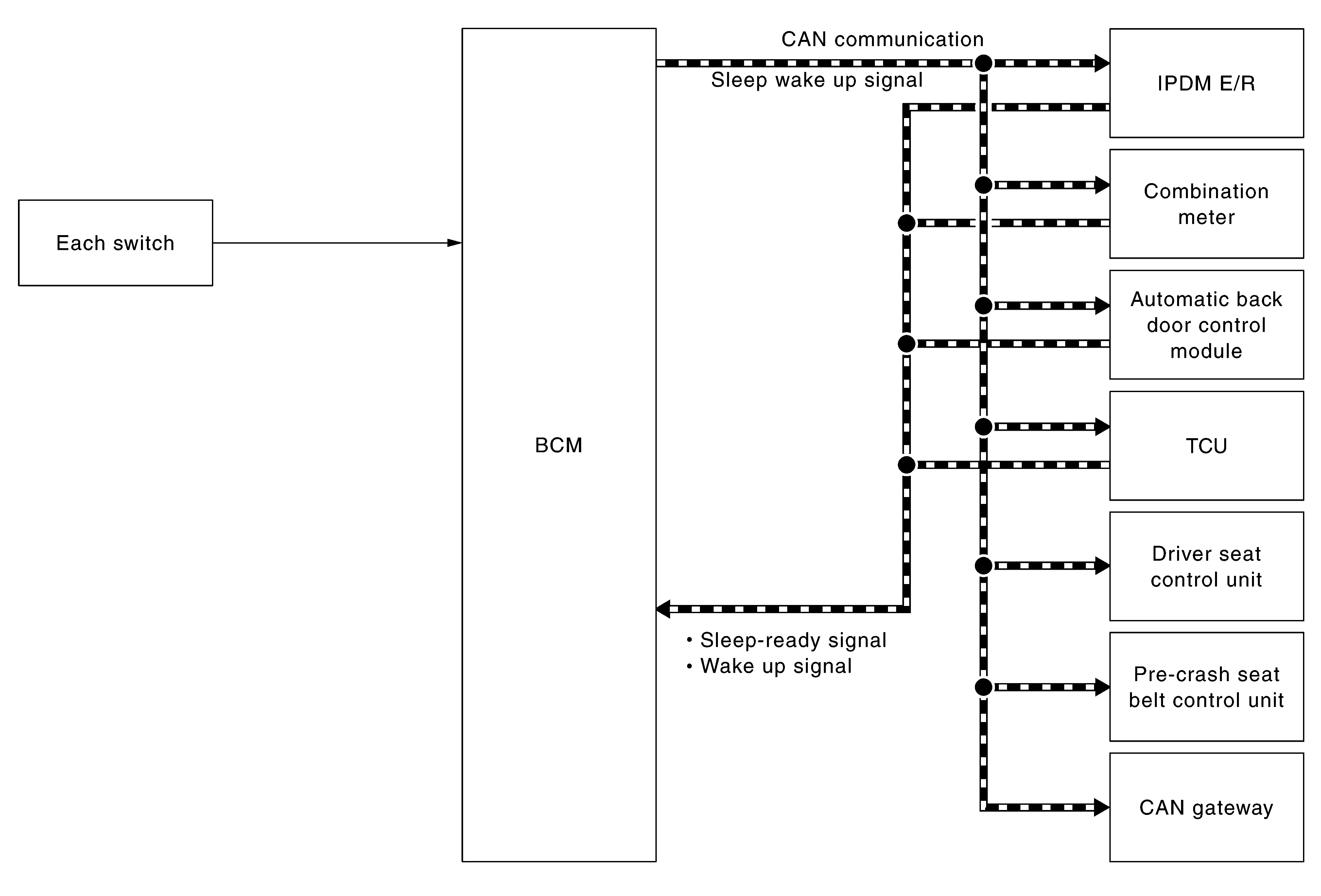
System Diagram

GNSILL0131373-373Courtesy of NISSAN NORTH AMERICA, INC.