LEMON Manuals: Even more car manuals for everyone: 1960-2025
Home >> Infiniti >> 2018 >> QX80 AWD >> Repair and Diagnosis >> External Pages >> Different car >> Section 60 (Driver Assistance System) >> Driver Assistance System >> Removal And Installation >> Side Radar >> Removal and Installation >> Exploded View
April 5, 2026: LEMON Manuals is launched! Read the announcement.

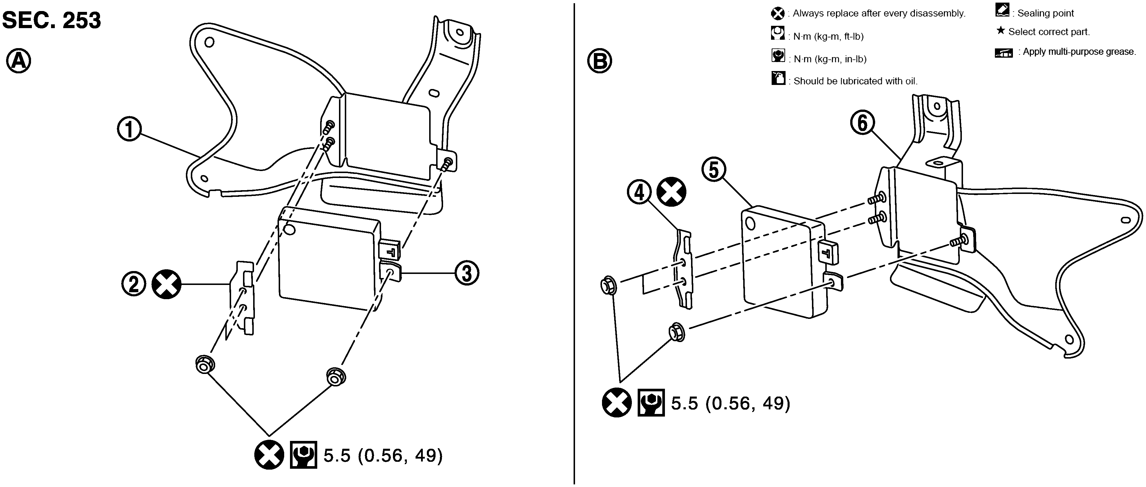
Exploded View

WARNING: This page is about a different car, the 2019 Nissan Armada and 2018 Nissan Armada. However, it is still accessible from the selected car via links, so may be relevant.
GNSJSOIA0379GB-379Courtesy of NISSAN NORTH AMERICA, INC.

SYMBOL

Bracket

SYMBOL

Bracket

SYMBOL

Side radar LH

SYMBOL

Bracket

SYMBOL

Side radar RH

SYMBOL

Bracket

SYMBOL

LH side

SYMBOL

RH side

SYMBOL

: Always replace after every disassembly.

SYMBOL

: N.m (kg-m, in-lb)