LEMON Manuals: Even more car manuals for everyone: 1960-2025
Home >> Infiniti >> 2018 >> QX80 AWD >> Repair and Diagnosis >> External Pages >> Different car >> Section 60 (Driver Assistance System) >> Driver Assistance System >> Removal And Installation >> Splash Guard >> Removal and Installation >> Exploded View
April 5, 2026: LEMON Manuals is launched! Read the announcement.

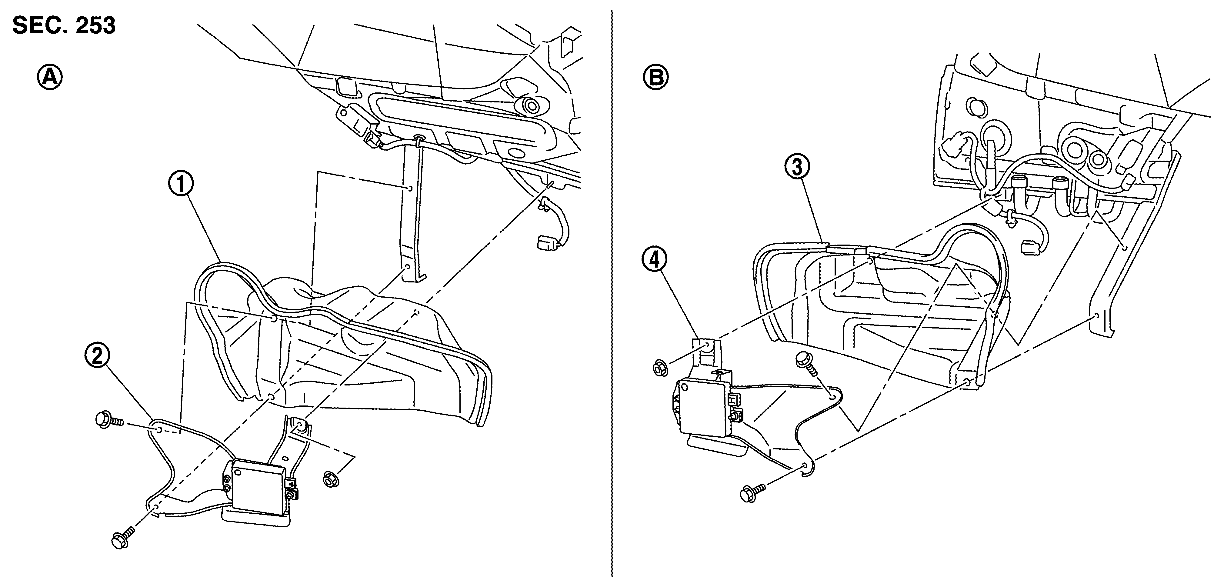
Exploded View

WARNING: This page is about a different car, the 2019 Nissan Armada and 2018 Nissan Armada. However, it is still accessible from the selected car via links, so may be relevant.
GNSJSOIA0559GB-559Courtesy of NISSAN NORTH AMERICA, INC.

SYMBOL

Splash guard LH

SYMBOL

Side radar LH (With bracket)

SYMBOL

Splash guard RH

SYMBOL

Side radar RH (With bracket)

SYMBOL

LH side

SYMBOL

RH side