LEMON Manuals: Even more car manuals for everyone: 1960-2025
Home >> Infiniti >> 2018 >> QX80 RWD >> Repair and Diagnosis >> External Pages >> Different car >> Section 7 (Body Control System) >> System Description >> System >> Shipping Mode Control System >> System Diagram
April 5, 2026: LEMON Manuals is launched! Read the announcement.

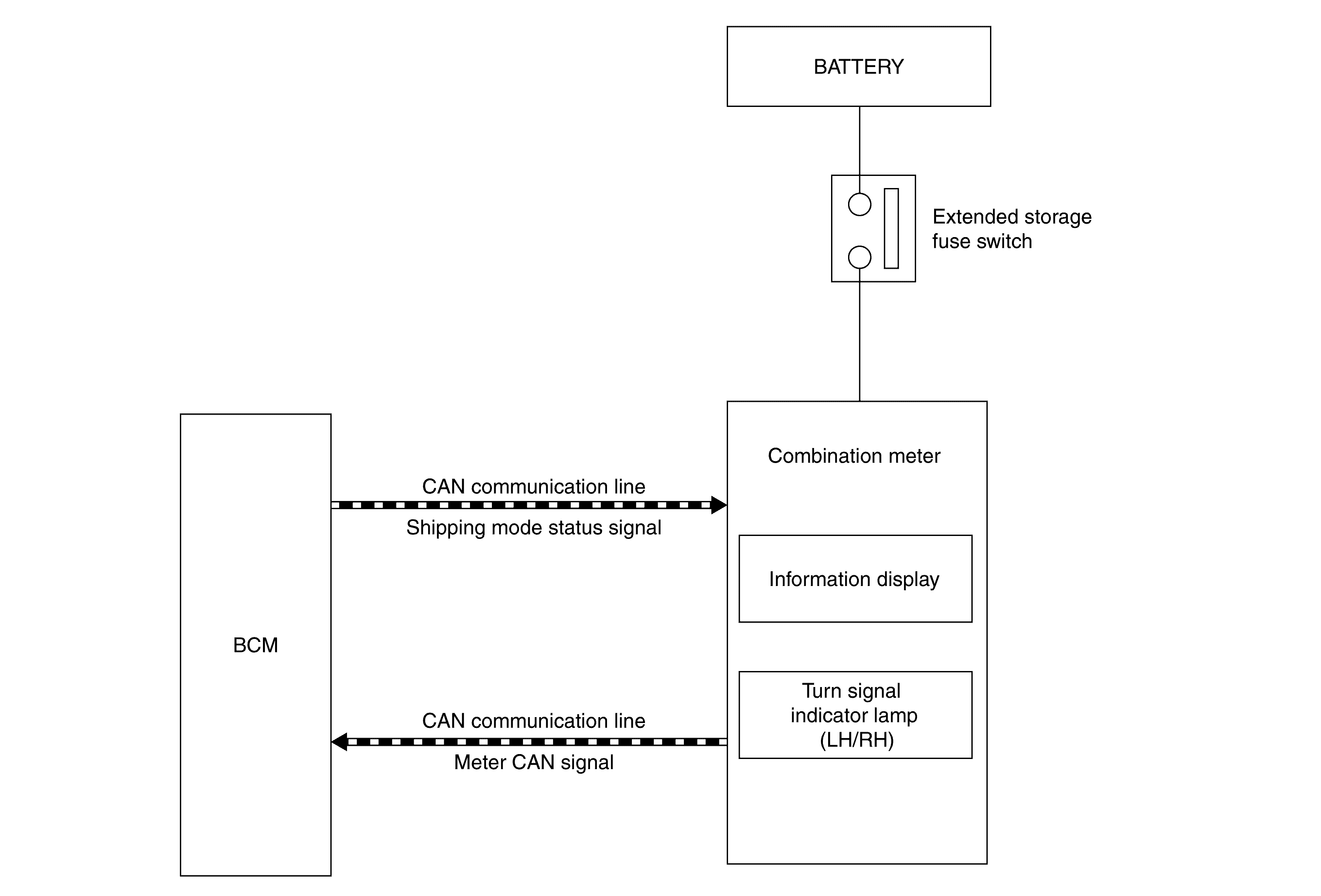
System Diagram

WARNING: This page is about a different car, the 2019 Nissan Armada and 2018 Nissan Armada. However, it is still accessible from the selected car via links, so may be relevant.
G08878419Courtesy of NISSAN NORTH AMERICA, INC.