LEMON Manuals: Even more car manuals for everyone: 1960-2025
Home >> Infiniti >> 2019 >> QX30 Essential, AWD >> Repair and Diagnosis (Single Page) >> Accessories & Equipment >> Entertainment Systems >> Audio, Visual& Navigation System (INFINITI INTOUCH) (1 Of 2) >> System Description >> Audio System >> With BOSE System >> System Description >> System Diagram
April 5, 2026: LEMON Manuals is launched! Read the announcement.

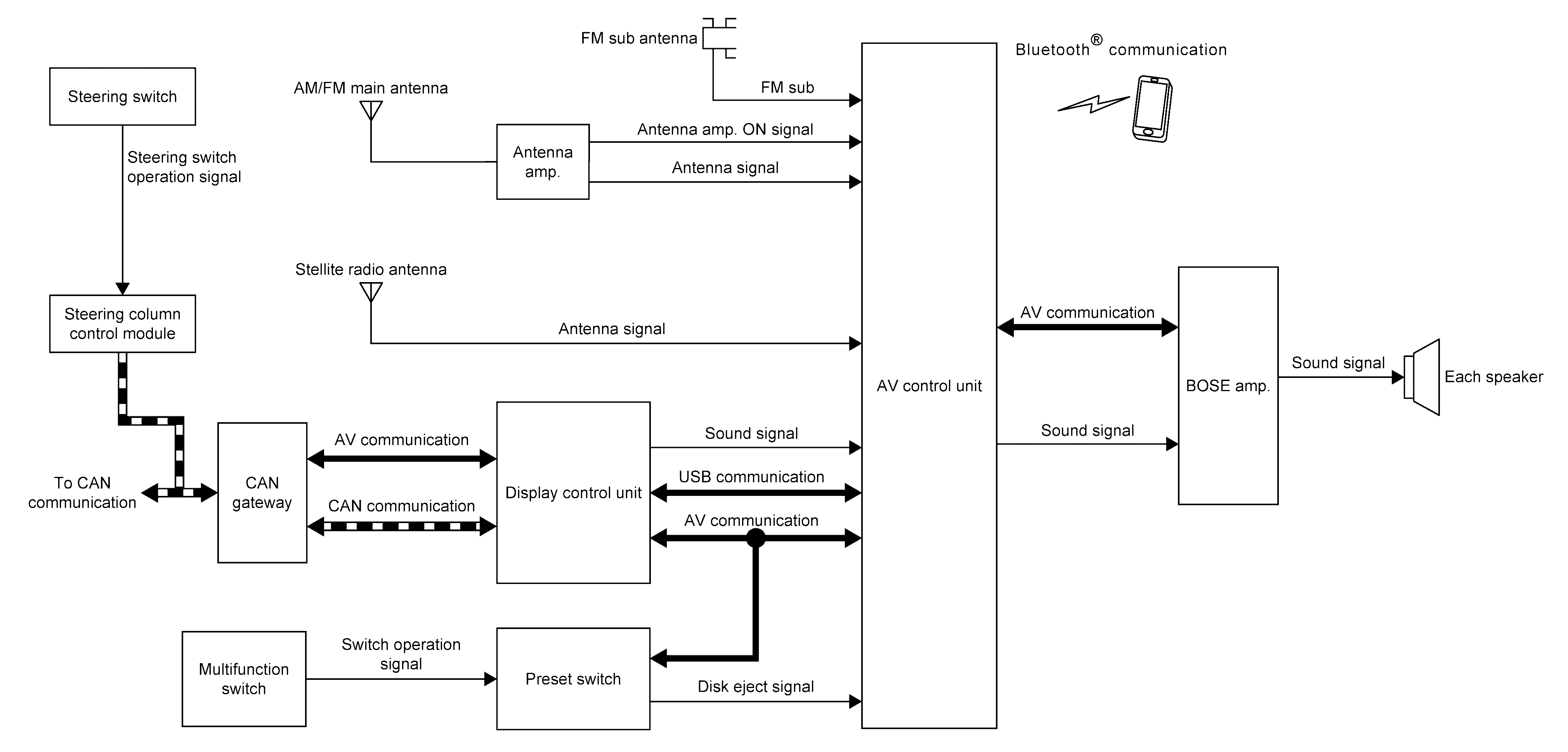
System Diagram

GNSJSNIB0271GB-271Courtesy of NISSAN NORTH AMERICA, INC.