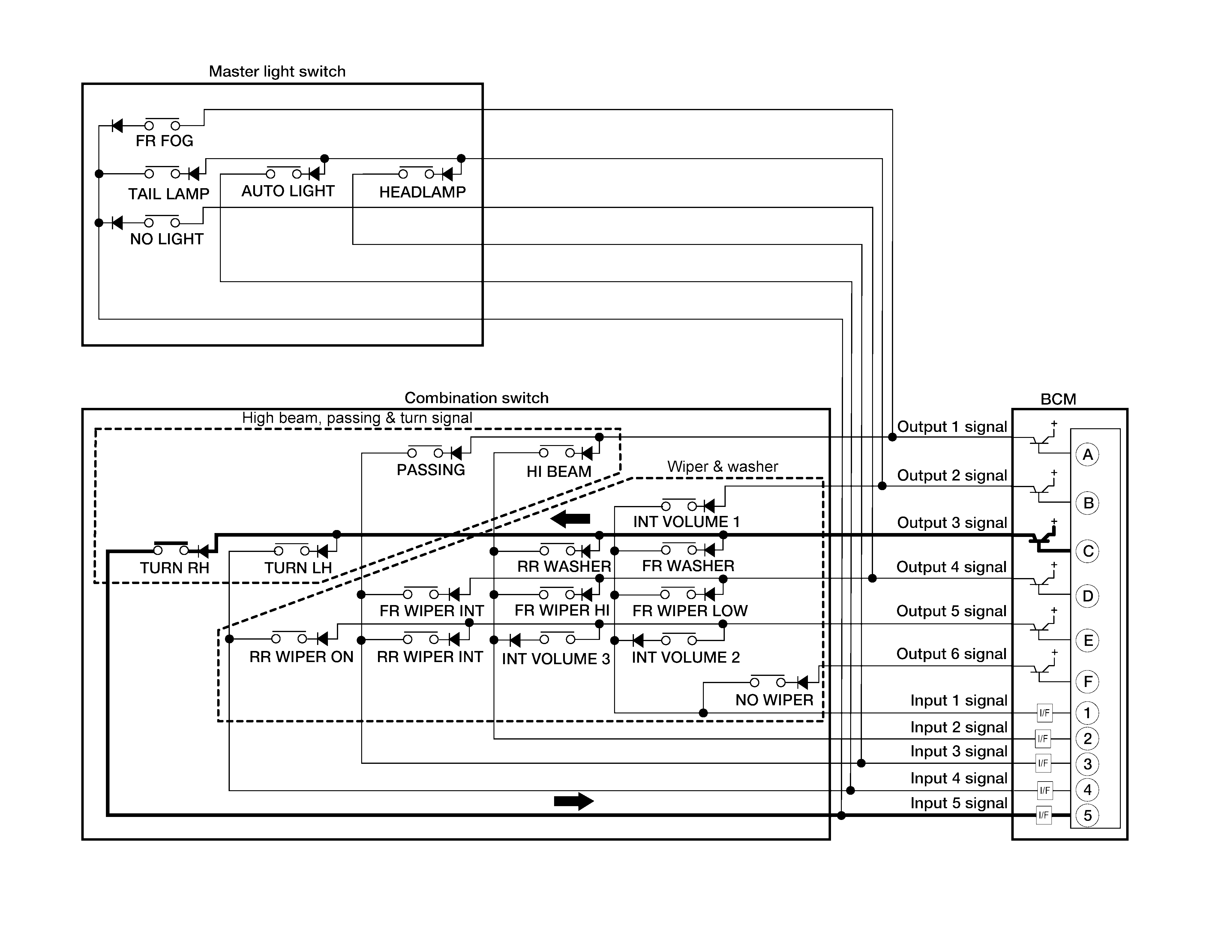
Combination Switch Reading Function
Description
- BCM reads the status of the combination switch at 10 ms intervals normally.NOTE: BCM reads the status of the combination switch at 60 ms intervals when BCM is controlled at low power consumption control mode.
- BCM operates as follows and judges the status of the combination switch.
- It operates the transistor on OUTPUT side in the following order: OUTPUT 1 -> 2 -> 3 -> 4 -> 5 -> 6, and outputs voltage waveform.
- The voltage waveform of OUTPUT corresponding to the formed circuit is input into the interface on INPUT side if any (1 or more) switches are ON.
- It reads this change of the voltage as the status signal of the combination switch.
Operation Example
In the following operation example, the combination of the status signals of the combination switch is replaced as follows: INPUT 1 - 5 to "1 - 5" and OUTPUT 1 - 6 to "A - F".
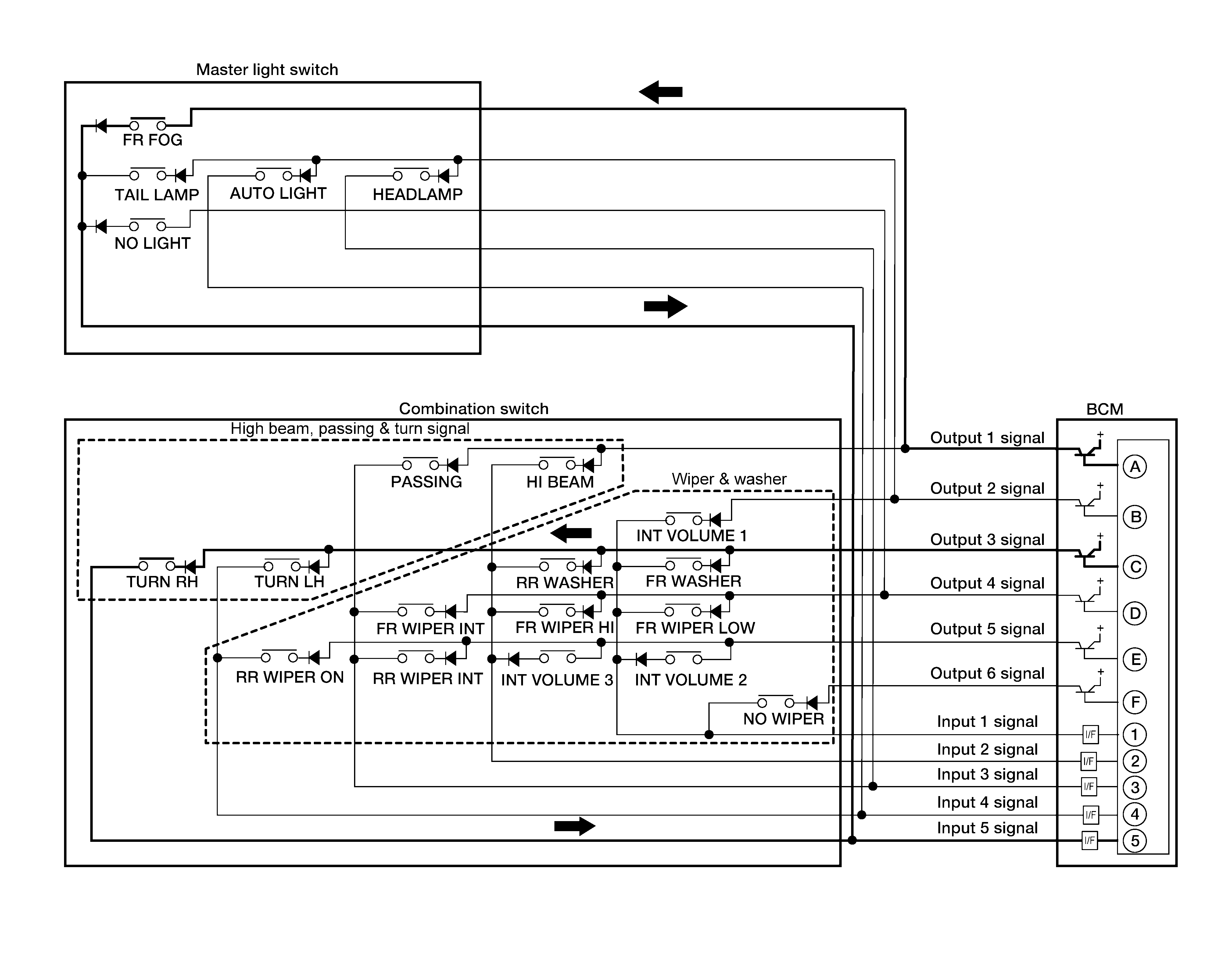
Example 1: When a switch (TURN RH) is turned ON
- The circuit between OUTPUT 3 and INPUT 5 is formed when the TURN RH switch is turned ON.
- BCM detects the combination switch status signal "5C" when the signal of OUTPUT 3 is input to INPUT 5.
- BCM judges that the TURN RH switch is ON when the signal "5C" is detected.
Example 2: When some switches (FR FOG, TURN RH) are turned ON
- The circuits between OUTPUT 1 and INPUT 5 and between OUTPUT 3 and INPUT 5 are formed when the FR FOG switch and TURN RH switch are turned ON.
- BCM detects the combination switch status signal "5AC" when the signals of OUTPUT 1 and OUTPUT 3 are input to INPUT 5.
- BCM judges that the FR FOG switch and TURN RH switch are ON when the signal "5AC" is detected.