LEMON Manuals: Even more car manuals for everyone: 1960-2025
Home >> Infiniti >> 2019 >> QX50 Essential, FWD >> Repair and Diagnosis (Single Page) >> Drivelines & Axles >> Wheel Hubs >> Front Axle >> Unit Disassembly And Assembly >> Disassembly and Assembly (RH AWD) >> Notes
April 5, 2026: LEMON Manuals is launched! Read the announcement.

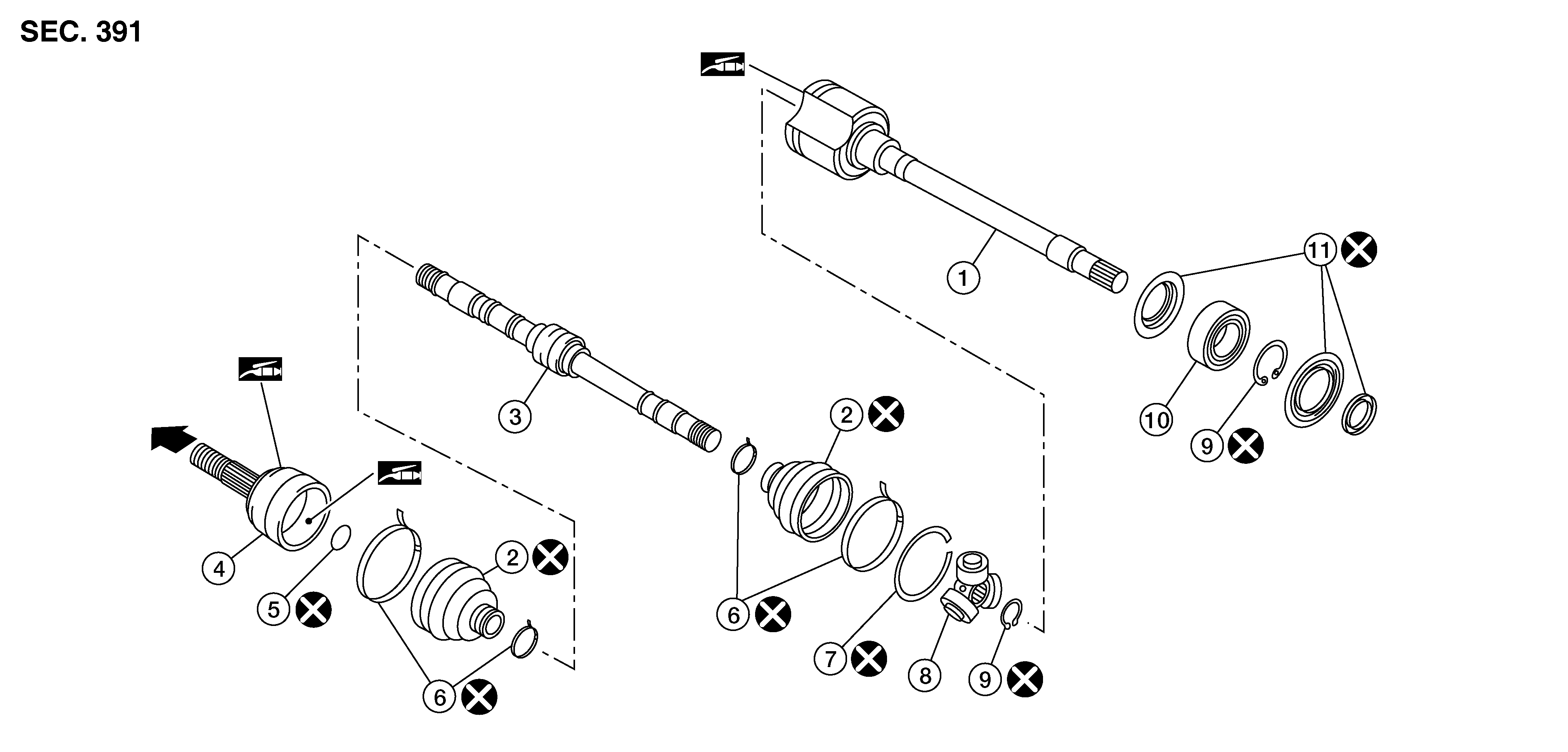
Disassembly and Assembly (RH AWD): Notes

GNSALDIA0091Z-091Courtesy of NISSAN NORTH AMERICA, INC.

1.

Housing

2.

Boot

3.

Shaft with damper

4.

Joint sub - assembly

5.

Circular clip

6.

Boot band

7.

Stopper ring

8.

Spider assembly

9.

Snap ring

10.

Support bearing

11.

Dust shield

SYMBOL

Wheel side

SYMBOL

Fill NISSAN Genuine grease or equivalent.