LEMON Manuals: Even more car manuals for everyone: 1960-2025
Home >> Infiniti >> 2019 >> QX50 Essential, FWD >> Repair and Diagnosis >> Accessories & Equipment >> Cruise Control Systems >> Cruise Control System >> Removal And Installation >> ICC Sensor >> Exploded View
April 5, 2026: LEMON Manuals is launched! Read the announcement.

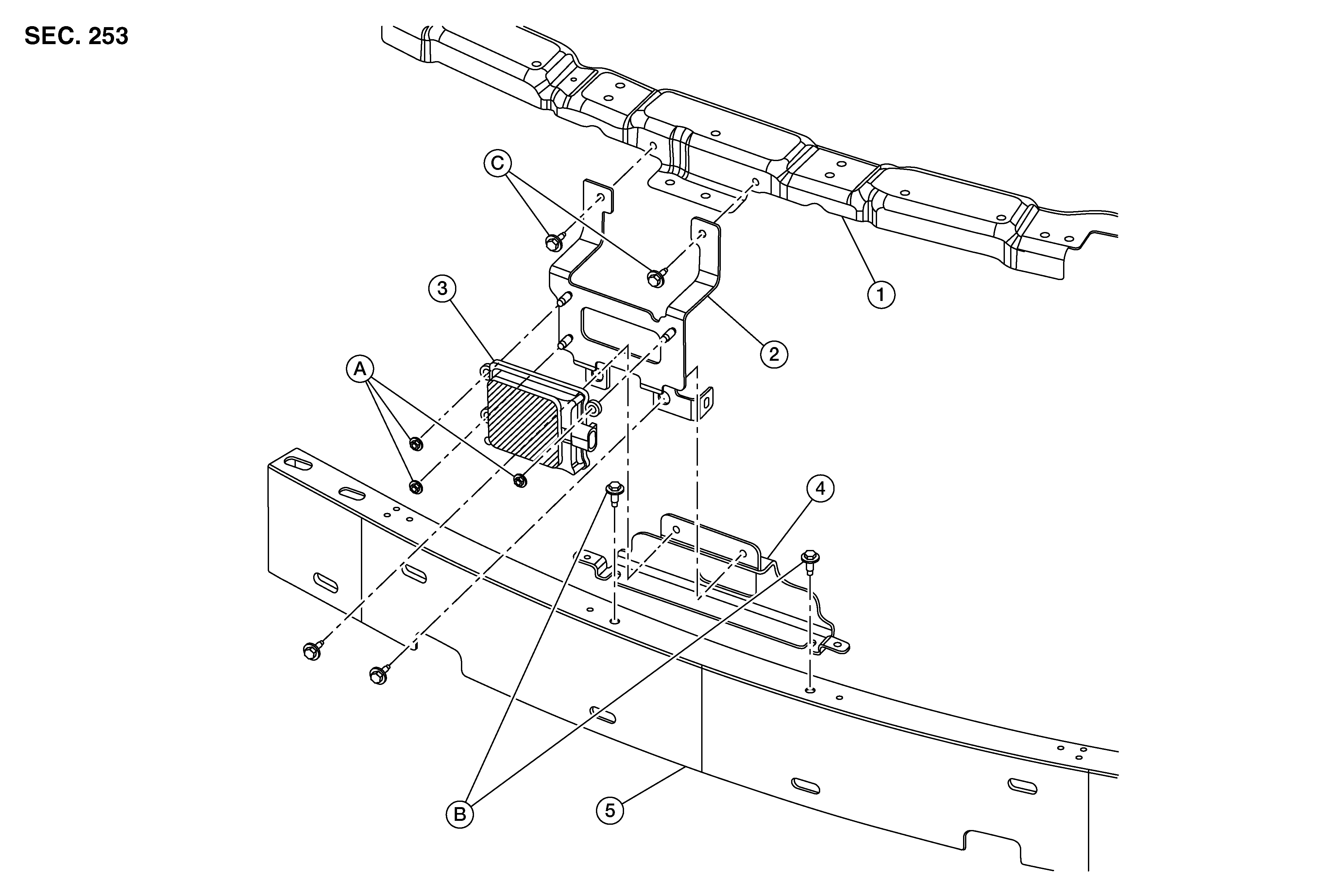
Exploded View

GNSALOIA0020Z-020Courtesy of NISSAN NORTH AMERICA, INC.

1.

Radiator support

2.

ICC sensor bracket upper

3.

ICC sensor

4.

ICC sensor bracket lower

5.

Reinforcement bumper

A.

Refer to - Removal And Installation .

B.

Refer to - Removal And Installation .

C.

Refer to - Removal And Installation .