LEMON Manuals: Even more car manuals for everyone: 1960-2025
Home >> Infiniti >> 2019 >> QX50 Essential, FWD >> Repair and Diagnosis >> Brakes >> Brakes Control Systems >> Brake Control System >> Removal And Installation >> Wheel Sensor >> Removal And Installation >> Installation
April 5, 2026: LEMON Manuals is launched! Read the announcement.

Removal And Installation: Installation

Installation is in the reverse order of removal.

CAUTION:
  • Before installing, make sure there is no foreign material such as iron fragments on pick-up part of the front wheel sensor.
  • When installing, make sure there is no foreign material such as iron fragments on and in the hole in the steering knuckle for the front wheel sensor. Make sure no foreign material has been caught in the sensor rotor. Remove any foreign material and clean the mount.
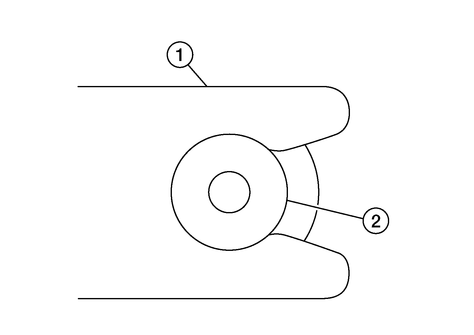
  • Do not twist the front wheel sensor harness when installing the front wheel sensor. Check that the grommet (2) is fully inserted to the bracket (1). Check that the front wheel sensor harness is not twisted after installation. Check that the identification line on the front wheel sensor harness is toward the outside of the vehicle.
GNSALFIA0073Z-073Courtesy of NISSAN NORTH AMERICA, INC.