LEMON Manuals: Even more car manuals for everyone: 1960-2025
Home >> Infiniti >> 2019 >> QX50 Pure, 4WD >> Repair and Diagnosis >> Engine Performance >> System >> Engine Control System (6 Of 6) >> Removal And Installation >> Fuel Pump Control Module (FPCM) >> Exploded View
April 5, 2026: LEMON Manuals is launched! Read the announcement.

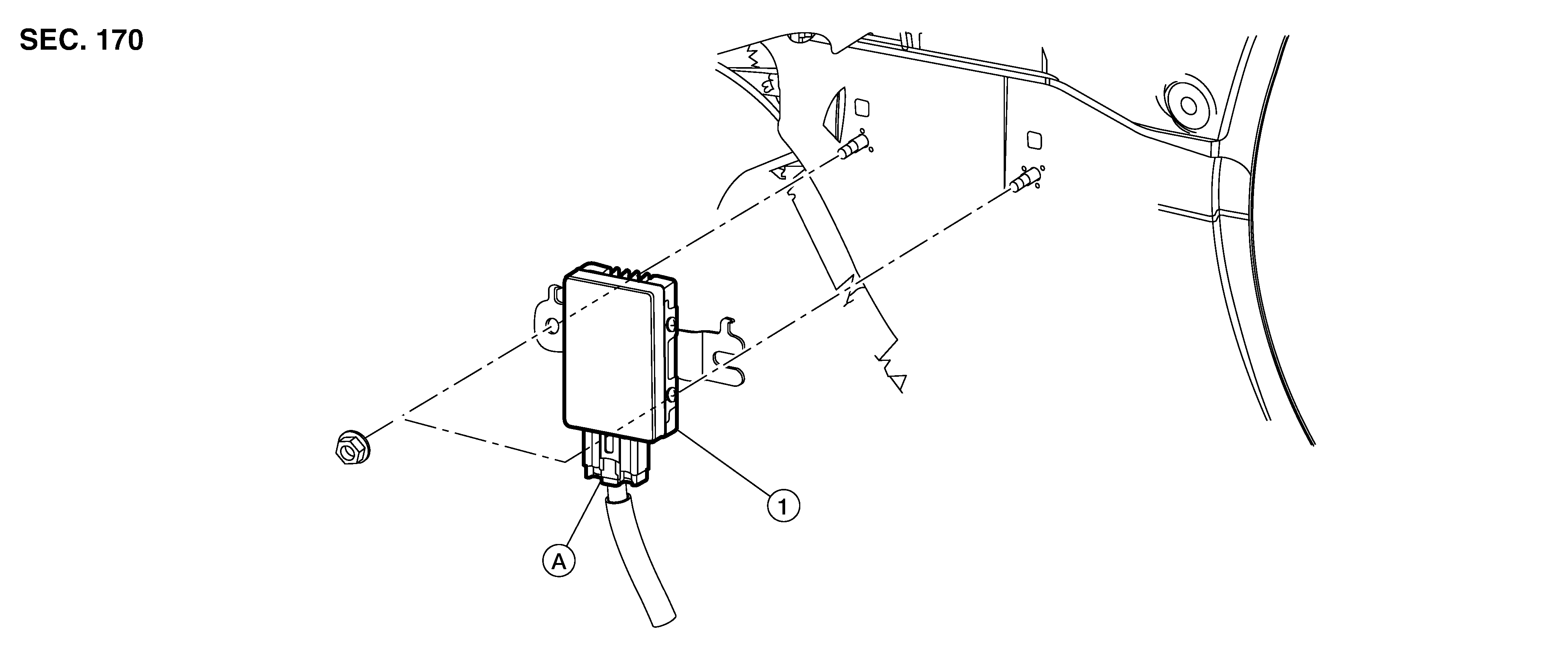
Exploded View

GNSALBIA0094Z-094Courtesy of NISSAN NORTH AMERICA, INC.

1.

Fuel pump control module

A.

Fuel pump control module harness