LEMON Manuals: Even more car manuals for everyone: 1960-2025
Home >> Infiniti >> 2019 >> QX60 Luxe, FWD >> Repair and Diagnosis >> Body & Frame >> Windows >> Power Window Control System >> System Description >> System >> System Diagram - Early Production
April 5, 2026: LEMON Manuals is launched! Read the announcement.

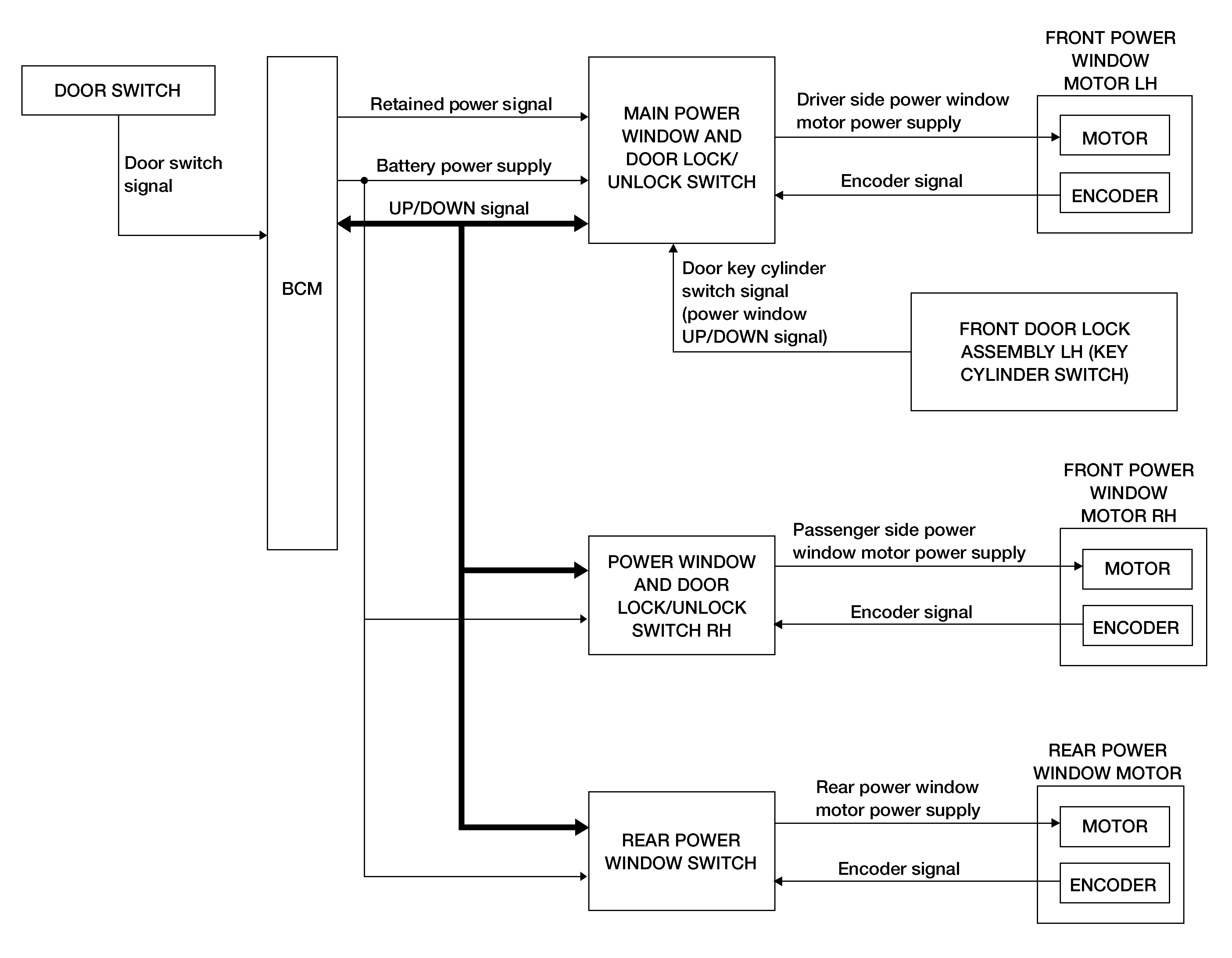
System Diagram - Early Production

GNSAWKIA3969GB-969Courtesy of NISSAN NORTH AMERICA, INC.