LEMON Manuals: Even more car manuals for everyone: 1960-2025
Home >> Infiniti >> 2022 >> QX55 Essential >> Repair and Diagnosis >> Accessories & Equipment >> Drivers Assistance Systems - ADAS >> Around View Monitor System >> Removal And Installation >> Front Camera >> Exploded View
April 5, 2026: LEMON Manuals is launched! Read the announcement.

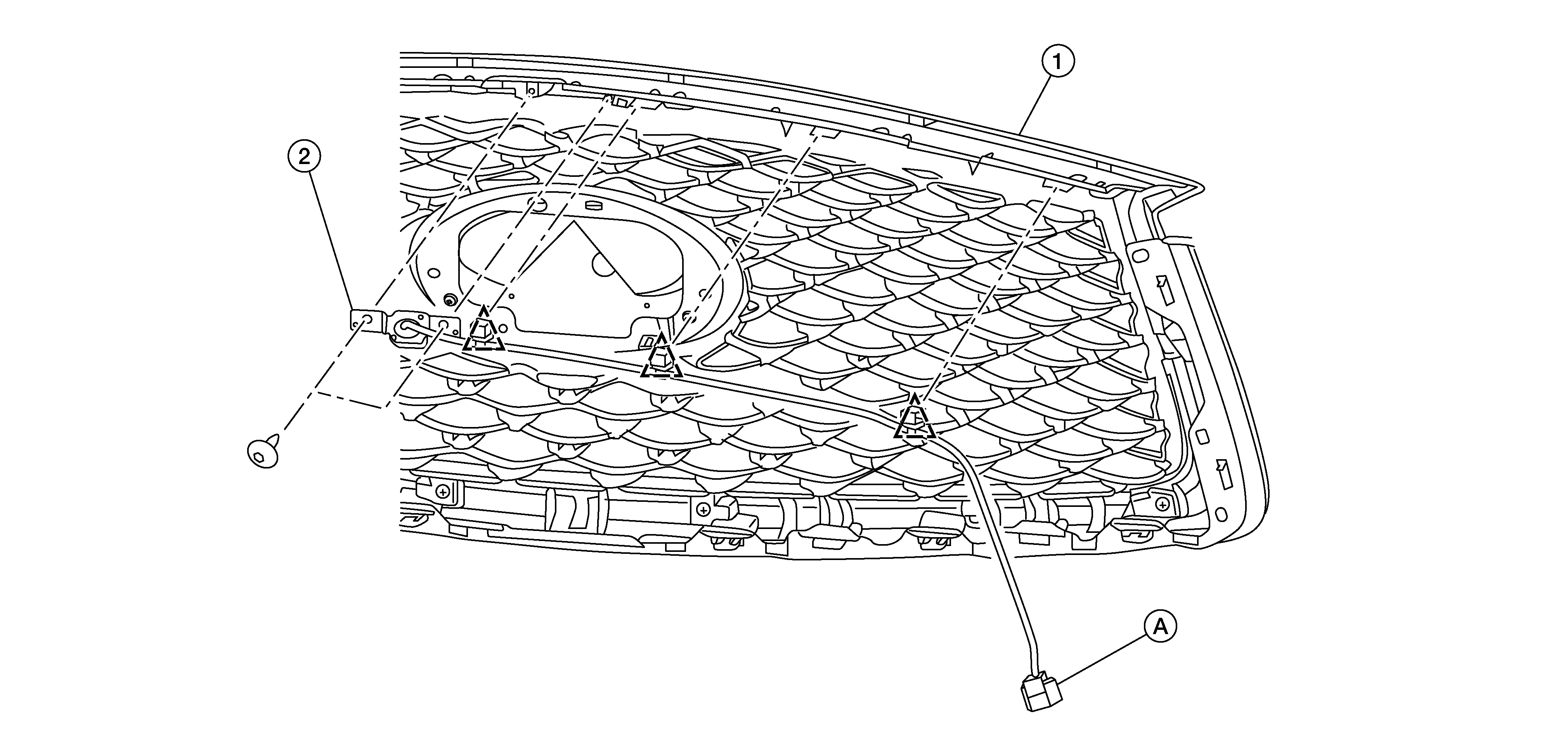
Exploded View

GNSALNIA0076Z-076Courtesy of NISSAN NORTH AMERICA, INC.

1.

Front grille

2.

Front camera

A.

Harness connector

SYMBOL

Clip