LEMON Manuals: Even more car manuals for everyone: 1960-2025
Home >> Infiniti >> 2023 >> Q50 Sensory, AWD >> Repair and Diagnosis >> Steering >> Steering Control Systems >> Steering Control System (Diagnostics) >> Basic Inspection >> Direct Adaptive Steering >> DAST Calibration (Mode 1) >> Work Procedure >> Direct Adaptive Steering System
April 5, 2026: LEMON Manuals is launched! Read the announcement.

Direct Adaptive Steering System

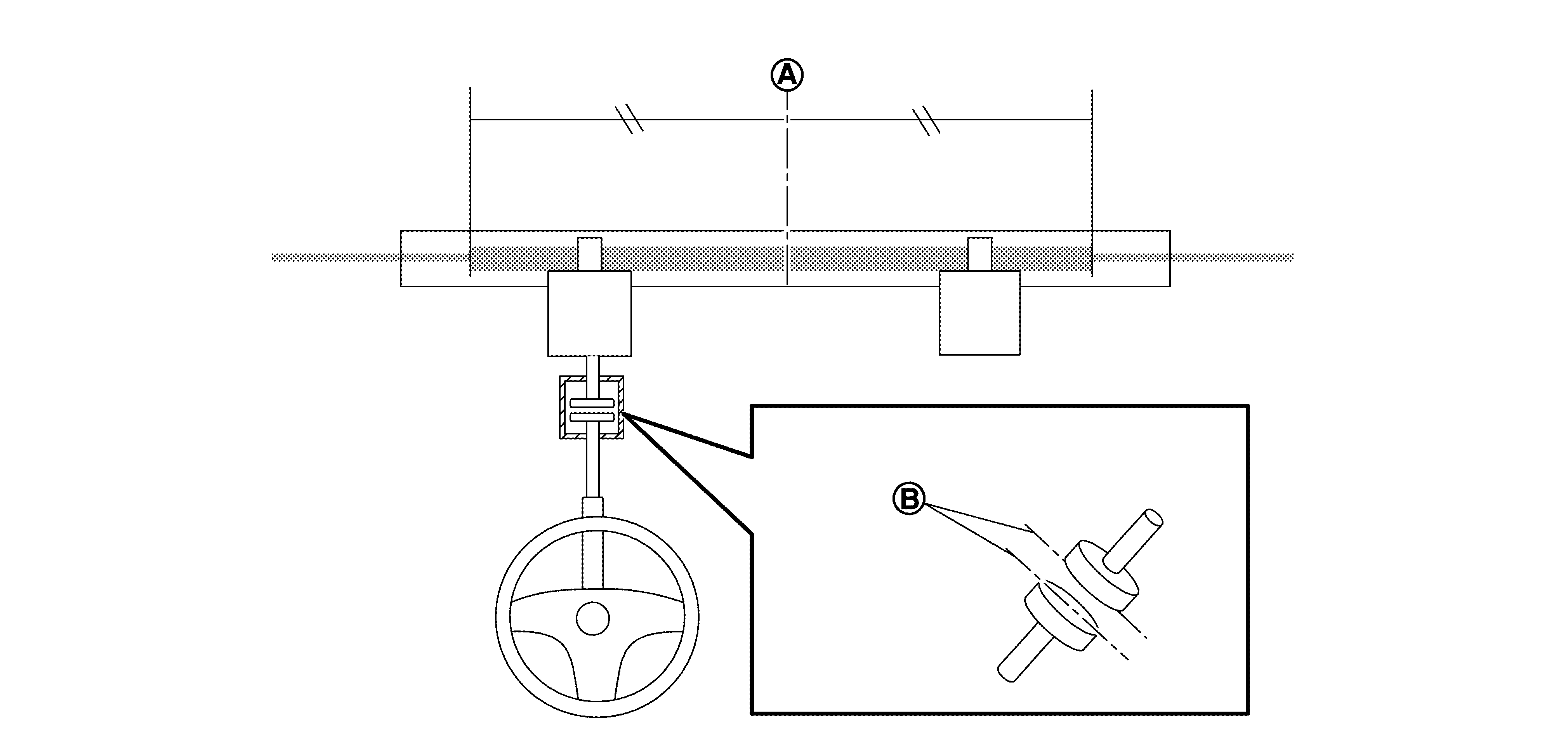
"DAST CALIBRATION (MODE1)" is a function to learn the neutral position of steering rack SYMBOL and the clutch phase position SYMBOL by moving the steering rack automatically.

GNSDB23535Courtesy of NISSAN NORTH AMERICA, INC.
WARNING:
  • Never move the vehicle during "DAST CALIBRATION (MODE1)" because the steering gear is held in neutral position until ignition switch is turned OFF.
  • "DAST CALIBRATION (MODE1)" is additional service when removing/installing/replacing DAST parts or adjusting wheel alignment. "DAST CALIBRATION (MODE1)" is used in [Clutch phase learning] and [Steering rack neutral learning]. Using it incorrectly cause off-center. Refer to "ADDITIONAL SERVICE WHEN REPLACING OR REMOVING DAST PARTS" (Refer to Work Procedure ) and "TOE-IN ADJUSTMENT" (Refer to Work Procedure ) before performing it.
CAUTION:
  • Be careful for the moving parts, steering wheel and front wheels are steered automatically when start "DAST CALIBRATION (MODE1)".
  • Do not rotate road wheels during the DAST calibration because the system is detected the vehicle running.
  • When the work stops (CONSULT freezing etc.,), re-perform the work from the first step.
  1. PREPARATION BEFORE DAST CALIBRATION 
    1. Set the front wheel on the turn table.
      NOTE: Do not lift up the vehicle during "DAST CALIBRATION (MODE1)"
    2. Check that inner socket length is in the specified value. Refer to STEERING GEAR AND LINKAGE : Service Data .
    3. Connect the battery charger to protect the 12 V battery.
      NOTE: Much electricity is used in "DAST CALIBRATION (MODE1)".
    4. Place the tilt to the highest level.

    GO TO 2.

  2. DAST CALIBRATION (MODE1) 

    SYMBOL With CONSULT

    1. Erase self-diagnostic result for "EPS/DAST 3", "DAST 1" and "DAST 2".
    2. On the CONSULT screen, select "EPS/DAST 3">>"WORK SUPPORT">>"DAST CALIBRATION (MODE1)".
    3. Touch "START".
      CAUTION: Be careful for the moving parts, steering wheel and front wheels are steered automatically when touch "START".
      NOTE:
      • When DTC is detected, "WORK SUPPORT" may not be started. When DTC is detected, check the DTC. Refer to DTC Index .
      • When "DAST CALIBRATION (MODE1)" is completed, the clutch is released.
    4. After checking that the power steering warning lamp turns off, turn the steering wheel to the straight-ahead position. Then touch "START".
      CAUTION:
      • Be careful in turning the steering wheel to the straight-ahead position.
      • Since the force feedback of steering becomes smaller after the completion of auto steering, take good care for turning the steering.
      NOTE: The clutch is engaged and then the steering shaft connects to steering gear.
    5. Touch "END".
      CAUTION: Never turn the ignition switch OFF.

    WORK END