LEMON Manuals: Even more car manuals for everyone: 1960-2025
Home >> Infiniti >> 2023 >> QX50 Pure, FWD >> Repair and Diagnosis >> Engine Performance >> Fuel Delivery >> Fuel System >> Removal And Installation >> EVAP Control System Pressure Sensor >> Exploded View
April 5, 2026: LEMON Manuals is launched! Read the announcement.

Exploded View

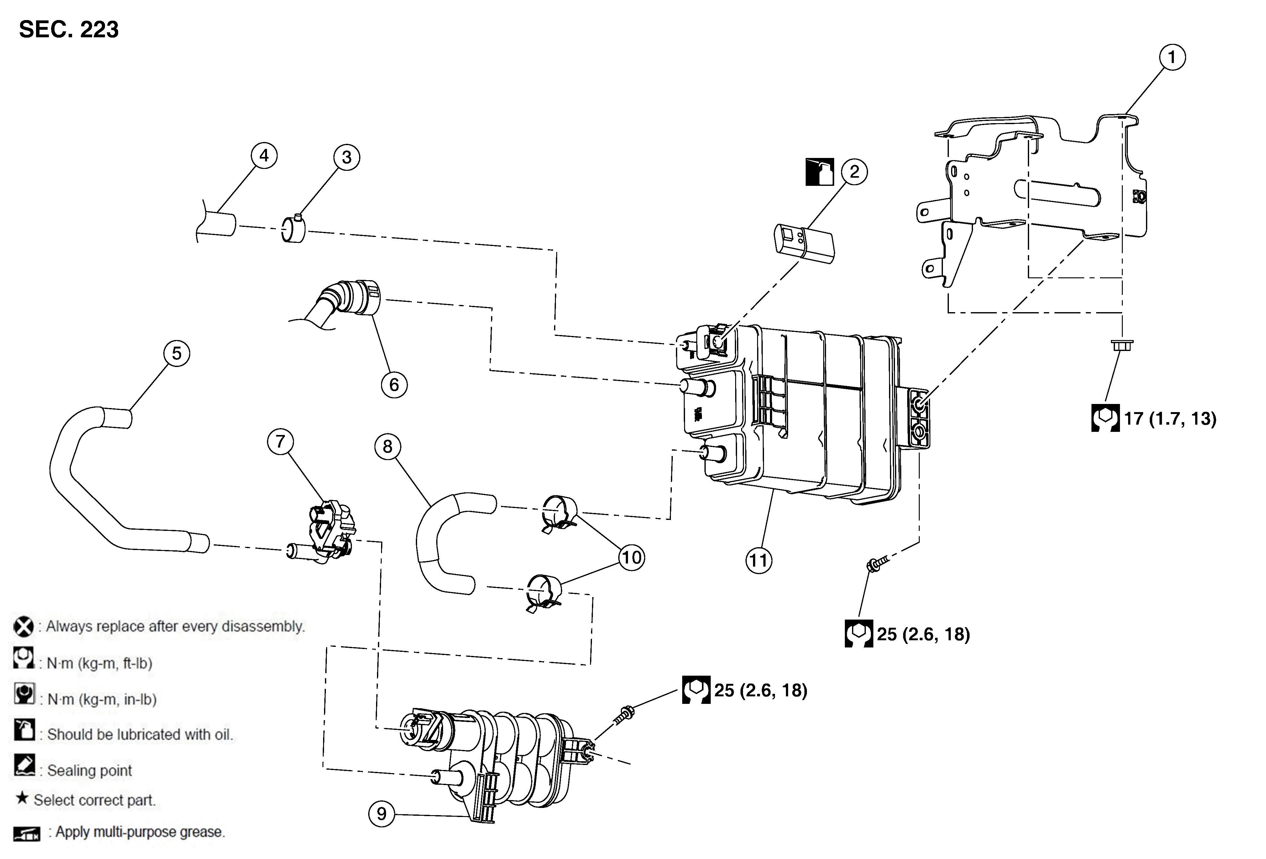
Fig 1: EVAP Control System Pressure Sensor With Torque Specifications
GNSDB59307Courtesy of NISSAN
1. EVAP canister bracket 2. EVAP control system pressure sensor (with O-ring) 3. Clamp
4. EVAP canister purge hose 5. EVAP tube 6. EVAP vent line
7. EVAP canister vent control valve 8. EVAP canister vent control valve hose 9. Secondary EVAP canister
10. Clamp 11. EVAP canister