Disassembly and Assembly
Disassembly
NOTE:
Before disassembly, note the proper placement of the wires to the correct terminals and correct wire routing to the terminals.
- Disconnect fuel level sensor unit and fuel tank temperature sensor harness connectors (A).
- Remove wires from wire clips (B).CAUTION:
Be careful not to damage wires when removing them from wire clips.
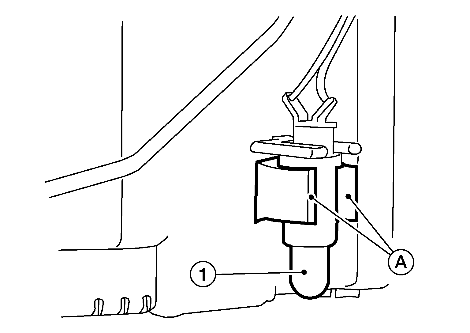
- Release clips (A), then remove fuel temperature sensor (1) from fuel filter and fuel pump assembly.
- Release tab (A) using suitable tool, then slide fuel level sensor unit (1) in direction shown, below.NOTE:
Fuel level sensor unit shown removed from fuel filter and fuel pump assembly for clarity.
Assembly
Assembly is in the reverse order of disassembly.
NOTE:

- Ensure proper placement of the wires to the correct terminals and correct wire routing to the terminals.
- After connecting terminals, ensure they are securely locked and cannot be pulled out.